LEMON Manuals: Even more car manuals for everyone: 1960-2025
Home >> Nissan-Datsun >> 2012 >> Cube Base >> Repair and Diagnosis >> External Pages >> Different car >> Section 124 (Multiplex Integrated Control System) >> System Description >> Gateway Function
April 5, 2026: LEMON Manuals is launched! Read the announcement.

Gateway Function

WARNING: This page is about a different car, the 2013 Acura MDX, 2012 Acura MDX, 2011 Acura MDX, and 2010 Acura MDX. However, it is still accessible from the selected car via links, so may be relevant.

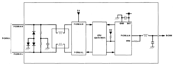
The gauge control module acts as a gateway to allow both systems to share information. The gauge control module translates and relays the information from B-CAN to F-CAN A, and from F-CAN A to B-CAN.

Fig 1: Gateway Function Diagram
G08055177Courtesy of AMERICAN HONDA MOTOR CO., INC.