LEMON Manuals: Even more car manuals for everyone: 1960-2025
Home >> Nissan-Datsun >> 2012 >> Cube Base >> Repair and Diagnosis >> External Pages >> Different car >> Section 131 (Fuse/Relay Boxes) >> Connector to Fuse/Relay Box Index
April 5, 2026: LEMON Manuals is launched! Read the announcement.

Connector to Fuse/Relay Box Index

WARNING: This page is about a different car, the 2013 Acura MDX, 2012 Acura MDX, 2011 Acura MDX, and 2010 Acura MDX. However, it is still accessible from the selected car via links, so may be relevant.

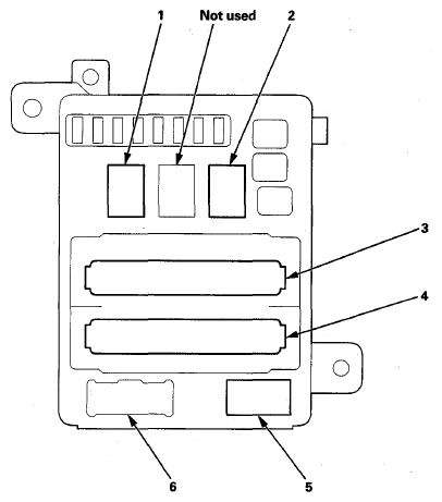
Under-Hood Fuse/Relay Box 

Fig 1: Locating Fog Light Relay And Interior Light Relay In Under-Hood Fuse/Relay Box (Auxiliary Under-Hood Relay Block Part)
G08053748Courtesy of AMERICAN HONDA MOTOR CO., INC.
UNDER-HOOD FUSE/RELAY BOX (AUXILIARY UNDER-HOOD RELAY BLOCK PART)

Socket Ref Terminals Connects to
Fog light relay 1 4 Right engine compartment wire harness
Interior light relay 2 4 Right engine compartment wire harness
Fig 2: Locating Relay In Under-Hood Fuse/Relay Box (Relay Control Module Part)
G08053749Courtesy of AMERICAN HONDA MOTOR CO., INC.
UNDER-HOOD FUSE/RELAY BOX (RELAY CONTROL MODULE PART)

Socket Ref Terminals Connects to
A 5 4 Right engine compartment wire harness
B 2 5 Right engine compartment wire harness
C 3 2 Right engine compartment wire harness
D 8 10 Right engine compartment wire harness
E 7 14 Right engine compartment wire harness
F 6 1 Right engine compartment wire harness
G 1 4 Right engine compartment wire harness
H 4 9 Right engine compartment wire harness
Fig 3: Locating Relay In Under-Hood Fuse/Relay Box (Relay Block Part)
G08053750Courtesy of AMERICAN HONDA MOTOR CO., INC.
UNDER-HOOD FUSE/RELAY BOX (RELAY BLOCK PART)

Socket Ref Terminals Connects to
A 9 1 Right engine compartment wire harness
A/C compressor clutch relay 2 4  
A/C condenser fan relay 3 4  
B 8 1 Right engine compartment wire harness
C 5 1 Right engine compartment wire harness
A/C diode A 11 ---  
A/C diode B 10 ---  
Fan control relay 1 5  
Front blower motor relay 7 4  
Headlight low beam relay 6 4  
Radiator fan relay 4 4  
Fig 4: Locating Relay In Auxiliary Under-Hood Fuse/Relay Box
G08053751Courtesy of AMERICAN HONDA MOTOR CO., INC.
AUXILIARY UNDER-HOOD FUSE/RELAY BOX

Socket Ref Terminals Connects to
Brake light relay (1) 1 5 Right engine compartment wire harness
TECH relay 2 4 Right engine compartment wire harness
(1) With ACC

Under-Dash Fuse/Relay Box 

Fig 5: Locating Relay In Under-Dash Fuse/Relay Box
G08053752Courtesy of AMERICAN HONDA MOTOR CO., INC.
UNDER-DASH FUSE/RELAY BOX

Socket Ref Terminals Connects to
A 6 6 Dashboard wire harness
Accessory power socket relay 8 4  
B 19 6 Left engine compartment wire harness
C 18 12 Left engine compartment wire harness
D 20 17 Left engine compartment wire harness
E 25 16 Floor wire harness
F 26 14 Floor wire harness
Front seat heater relay 9 4  
G 21 6 Floor wire harness
H 24 14 Floor wire harness
J 16 21 Driver's door subharness
K 15 12 Driver's door subharness
M (MICU service check connector) 14 3  
N 2 45 Dashboard wire harness
P 23 30 Dashboard wire harness
PGM-FI main relay 2 (FUEL PUMP) 13 4  
Power window relay 11 4  
Q 22 14 Floor wire harness
R 3 --- Not used
S (for SRS) 5 2 Dashboard wire harness
Short pin (for fuel pump) 10 ---  
Short pin (for lumbar support) 12 ---  
T 7 6 Not used
Turn signal/hazard relay 4 6  
W 17 5 Left engine compartment wire harness
X 1 39 Dashboard wire harness

Rear Fuse/Relay Box 

Fig 6: Locating Relay In Rear Fuse/Relay Box
G08053753Courtesy of AMERICAN HONDA MOTOR CO., INC.
REAR FUSE/RELAY BOX

Socket Ref Terminals Connects to
A 5 2 Floor wire harness
B 4 34 Floor wire harness
C 3 42 Rear wire harness
Cargo area accessory power socket relay 1 4  
D (for trailer) 6 11 Not used
Rear window defogger relay 2 4