LEMON Manuals: Even more car manuals for everyone: 1960-2025
Home >> Nissan-Datsun >> 2012 >> Cube Base >> Repair and Diagnosis >> External Pages >> Different car >> Section 50 (Multiplex Integrated Control System) >> System Description >> Self-Diagnostic Function
April 5, 2026: LEMON Manuals is launched! Read the announcement.

Self-Diagnostic Function

WARNING: This page is about a different car, the 2013 Honda Fit, 2012 Honda Fit, 2011 Honda Fit, 2010 Honda Fit, and 2009 Honda Fit. However, it is still accessible from the selected car via links, so may be relevant.

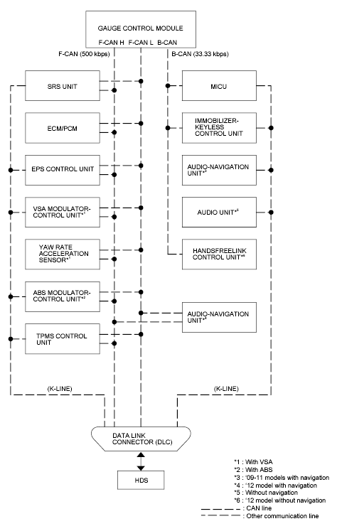
By connecting the HDS to the data link connector (DLC), the HDS can retrieve the diagnostic information from the MICU via a diagnostic line called K-LINE. The K-LINE is separate from the CAN lines, and is connected to the CAN related ECUs. The MICU is a gateway between the HDS and B-CAN related ECUs, and it sends B-CAN diagnostic information to the HDS. When doing a function test with the HDS, the HDS sends an output signal through the K-LINE to the MICU. The MICU either relays the request to another ECU or commands the function itself.

Fig 1: Identifying Self-Diagnostic Function Diagram
G05959933Courtesy of AMERICAN HONDA MOTOR CO., INC.