LEMON Manuals: Even more car manuals for everyone: 1960-2025
Home >> Nissan-Datsun >> 2012 >> Cube Base >> Repair and Diagnosis >> External Pages >> Different car >> Section 62 (Navigation System) >> Audio-Navigation Unit Removal/Installation
April 5, 2026: LEMON Manuals is launched! Read the announcement.

Audio-Navigation Unit Removal/Installation

WARNING: This page is about a different car, the 2011 Honda Fit, 2010 Honda Fit, and 2009 Honda Fit. However, it is still accessible from the selected car via links, so may be relevant.

SRS components are located in this area. Review the SRS COMPONENT LOCATION INDEX .

Also review PRECAUTIONS AND PROCEDURES in the SRS section before doing repairs or service.

NOTE:
  • Before replacing the audio-navigation unit, back-up the customer data using system diagnostic mode Save Users Memory under the functional set up (see SAVE USERS MEMORY  ).
  • If the audio-navigation unit is replaced or disconnected, Map Matching must be done (see MAP MATCHING  ).
  • Put on gloves to protect your hands.
  • Take care not to scratch the dashboard and related parts.
  • Lay a workshop towel under the parts when working on them to protect the face panel from scratches or other damage.
  • Do not work in a dusty or dirty place.
  • Discharge static electricity from your body before and during the work.
  • Do not touch the circuit board(s) with your bare hands.
  • Do not work with dirty hands.
  • Be careful not to fold the flat plate cable.
  • Do not touch the terminal connector of the flat plate cable with your bare hands. (If you have touched it, wipe it off thoroughly.)
  • Before replacing the audio-navigation unit, make sure to remove the customer's navigation DVD, and their audio CD, or PC card. Remanufactured audio-navigation units do not come with a navigation DVD. Re-install the customer's navigation DVD, audio CD, and audio PC card into the new remanufactured unit. If the navigation display won't open, manually remove the navigation DVD, audio CD, and PC card (see CD, DVD, AND PC CARD REMOVAL/INSTALLATION  ).
  1. Make sure you have the 4-digit anti-theft code for the navigation system.
  2. Eject the DVD from the original audio-navigation unit (see CD, DVD, AND PC CARD REMOVAL/INSTALLATION  ). To avoid scratching or damaging the DVD, temporarily place the DVD in a jewel case.
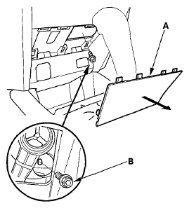
  3. Remove the center lower cover (A).
    Fig 1: Identifying Center Lower Cover
    G05960358Courtesy of AMERICAN HONDA MOTOR CO., INC.
  4. Move the recirculation control lever to FRESH to ease access, then remove the mounting bolt (B).
  5. Open the dashboard upper tray lid. Insert a flat-tip screwdriver in the groove (A), then pull the screwdriver shaft up slightly.
    Fig 2: Identifying Opening Dashboard Upper Tray Lid
    G05960359Courtesy of AMERICAN HONDA MOTOR CO., INC.
  6. Pull the center panel (A) out and disconnect the connectors, then remove the center panel/audio-navigation unit assembly.
    NOTE: When you disconnect audio-navigation unit connector A, while pushing the tab (B), pull the lever (C) up and disconnect the connector.
    Fig 3: Identifying Center Panel/Audio-Navigation Unit Assembly
    G05960360Courtesy of AMERICAN HONDA MOTOR CO., INC.
  7. Remove the screws, brackets (A), and the audio-navigation unit (B) from the center panel (C).
    Fig 4: Audio-Navigation Unit, Center Panel, Screws & Brackets With Torque Specifications
    G05960361Courtesy of AMERICAN HONDA MOTOR CO., INC.
  8. Install the audio-navigation unit in the reverse order of removal, and make sure all connectors are secure.
  9. Turn the ignition switch to ON (II), then reinstall the customer's original DVD, verifying that the DVD is free of scratches or smudges.
  10. Check any official Honda service website for more service information about the navigation system.
    NOTE: Simply transferring the DVD from the original audio-navigation unit to the new audio-navigation unit does not assure the correct software for the vehicle will be loaded into the new audio-navigation unit. Doing the DVD transfer without doing software patches may cause the new audio-navigation unit to appear to be malfunctioning.
  11. Enter the new navigation anti-theft code, then enter the radio presets.
  12. Park the vehicle outside, and do the GPS initialization (see SERVICE PRECAUTIONS  ).
  13. Give the new navigation anti-theft code to the customer.