LEMON Manuals: Even more car manuals for everyone: 1960-2025
Home >> Nissan-Datsun >> 2012 >> Cube Base >> Repair and Diagnosis >> External Pages >> Different car >> Section 89 (Climate Control) >> Humidity/In-Car Temperature Sensor Replacement
April 5, 2026: LEMON Manuals is launched! Read the announcement.

Humidity/In-Car Temperature Sensor Replacement

WARNING: This page is about a different car, the 2013 Acura MDX, 2012 Acura MDX, 2011 Acura MDX, and 2010 Acura MDX. However, it is still accessible from the selected car via links, so may be relevant.
  1. Remove the driver's dashboard lower cover (see DRIVER'S DASHBOARD LOWER COVER REMOVAL/INSTALLATION ).
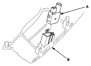
  2. Remove the humidity/in-car temperature sensor (A) from the driver's dashboard lower cover (B).
    Fig 1: Identifying Humidity/In-Car Temperature Sensor And Driver's Dashboard Lower Cover
    G08058033Courtesy of AMERICAN HONDA MOTOR CO., INC.
  3. Install the sensor in the reverse order of removal. Be sure to connect the air hose securely.