LEMON Manuals: Even more car manuals for everyone: 1960-2025
Home >> Nissan-Datsun >> 2012 >> Cube SL >> Repair and Diagnosis (Single Page) >> Accessories & Equipment >> Entertainment Systems >> Audio, Visual, Navigation System (Audio) ( Without Navigation) >> DTC/Circuit Diagnosis >> Steering Switch Signal B Circuit (Steering Switch To Tel Adapter Unit) >> Component Inspection
April 5, 2026: LEMON Manuals is launched! Read the announcement.

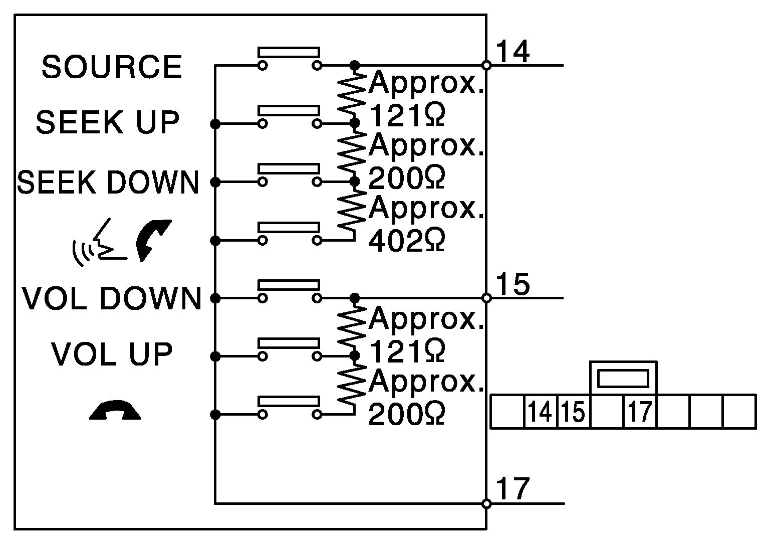
Component Inspection

Measure the resistance between the steering switch connector terminals 14 to 17 and 15 to 17.

Standard

Between terminals 14 and 17

"HANDSFREE/PHONE" switch ON: Approx. 709 - 737 Ω

SEEK DOWN switch ON: Approx. 315 - 327 Ω

SEEK UP switch ON: Approx. 119 - 123 Ω

SOURCE switch ON: Approx. 0 Ω

Between terminals 15 and 17

"END CALL" switch ON: Approx. 315 - 327 Ω

VOL UP switch ON: Approx. 119 - 123 Ω

VOL DOWN switch ON: Approx. 0 Ω

Fig 1: Checking Steering Switch
G06935226Courtesy of NISSAN NORTH AMERICA, INC.