LEMON Manuals: Even more car manuals for everyone: 1960-2025
Home >> Nissan-Datsun >> 2012 >> Leaf ELE-Electric Engine >> Repair and Diagnosis >> Diagrams >> Connector Views >> Relay Box
April 5, 2026: LEMON Manuals is launched! Read the announcement.

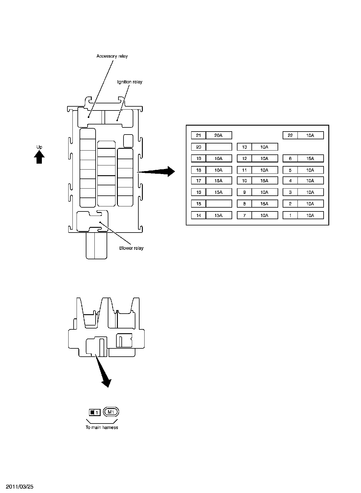
Relay Box




FUSE BLOCK - JUNCTION BOX (J/B)

Fuse, Connector and Terminal Arrangement