LEMON Manuals: Even more car manuals for everyone: 1960-2025
Home >> Nissan-Datsun >> 2012 >> Leaf ELE-Electric Engine >> Repair and Diagnosis >> Electric Drive Systems >> Drive Motor / Generator >> Service and Repair >> Exploded View
April 5, 2026: LEMON Manuals is launched! Read the announcement.

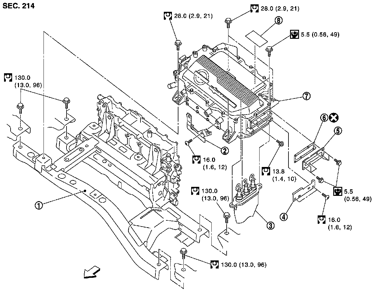
Exploded View




TRACTION MOTOR INVERTER

Exploded View