LEMON Manuals: Even more car manuals for everyone: 1960-2025
Home >> Nissan-Datsun >> 2012 >> Leaf ELE-Electric Engine >> Repair and Diagnosis >> Powertrain Management >> Transmission Control Systems >> Description and Operation >> System Description
April 5, 2026: LEMON Manuals is launched! Read the announcement.

System Description




SYSTEM

System Description

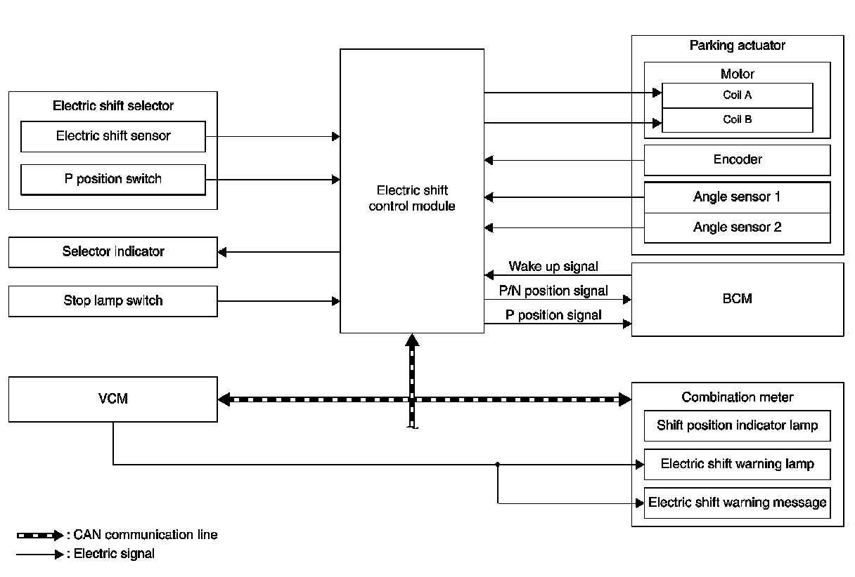
- The electric shift system detects each shift position electrically. In addition, in P position, the electric shift system activates the parking actuator, according to electrical signals received from the P position switch and brings the vehicle into the parking state.
- In the event of a malfunction in the electric shift system, the shift position indicator (in the combination meter)
turns OFF and only the selector indicator (in the electric shift selector area) indicates the shift position.
- In the event of a malfunction in the electric shift system, the system enters fail-safe mode. Refer to "Fail-Safe" Initial Inspection and Diagnostic Overview.

SYSTEM DIAGRAM