LEMON Manuals: Even more car manuals for everyone: 1960-2025
Home >> Nissan-Datsun >> 2012 >> Leaf SL >> Repair and Diagnosis (Single Page) >> Brakes >> Traction Control >> Brake Control System (With VDC) >> System Description >> System >> TCS Function >> TCS FUNCTION: System Description >> System Diagram
April 5, 2026: LEMON Manuals is launched! Read the announcement.

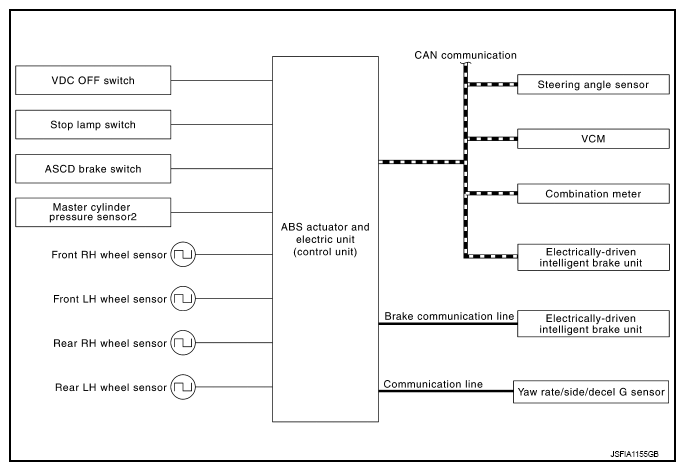
System Diagram

Fig 1: TCS Function System Diagram
G08139132Courtesy of NISSAN NORTH AMERICA, INC.