LEMON Manuals: Even more car manuals for everyone: 1960-2025
Home >> Nissan-Datsun >> 2012 >> Leaf SL >> Repair and Diagnosis (Single Page) >> Electrical >> Body Electrical >> Power Control System (IPDM E/R) >> System Description >> System >> Relay Control System >> RELAY CONTROL SYSTEM: System Description >> System Diagram
April 5, 2026: LEMON Manuals is launched! Read the announcement.

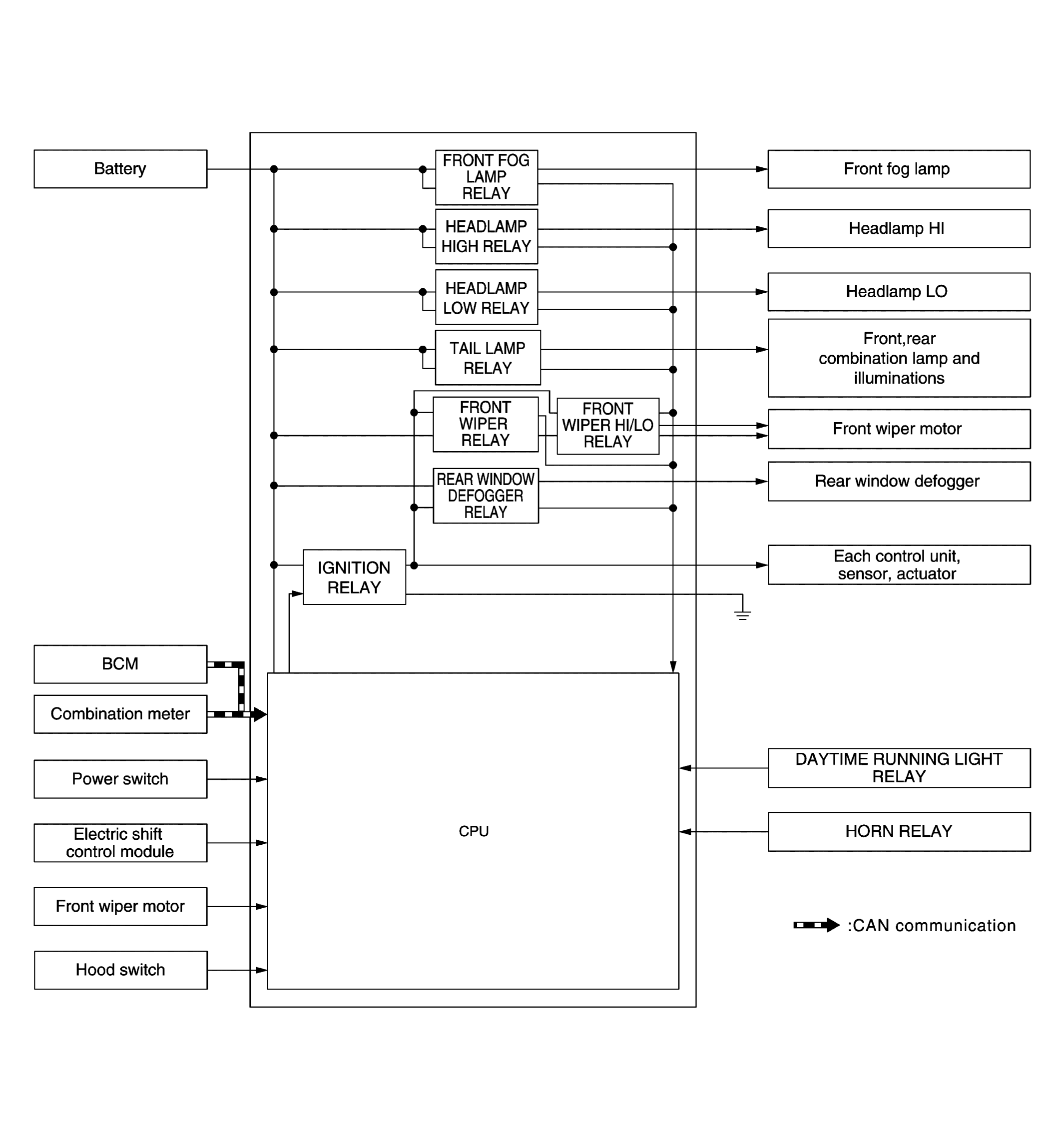
System Diagram

Fig 1: Relay Control - System Diagram
G08141658Courtesy of NISSAN NORTH AMERICA, INC.