LEMON Manuals: Even more car manuals for everyone: 1960-2025
Home >> Nissan-Datsun >> 2012 >> Maxima S >> Repair and Diagnosis (Single Page) >> Body & Frame >> Seats >> Automatic Drive Positioner (ADP) >> System Description >> Automatic Drive Positioner System >> Memory Function >> MEMORY FUNCTION : System Diagram
April 5, 2026: LEMON Manuals is launched! Read the announcement.

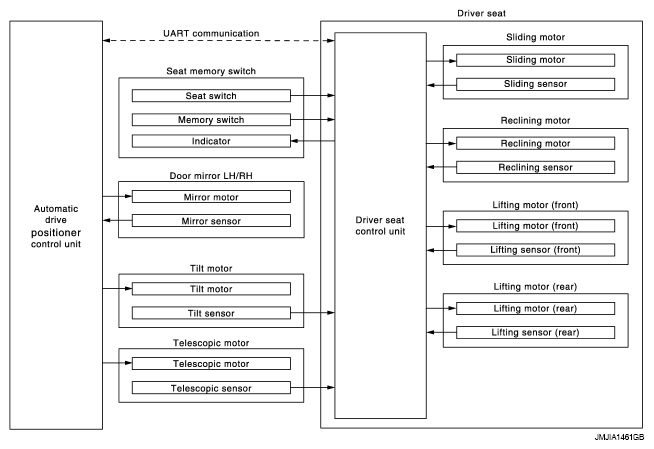
MEMORY FUNCTION : System Diagram

Fig 1: Memory Function System Diagram
G06991278Courtesy of NISSAN MOTOR CO., U.S.A.