LEMON Manuals: Even more car manuals for everyone: 1960-2025
Home >> Nissan-Datsun >> 2012 >> Quest LE >> Repair and Diagnosis (Single Page) >> Body & Frame >> Seats >> Automatic Drive Positioner >> System Description >> System >> Exit Assist Function >> EXIT ASSIST FUNCTION: System Description >> System Diagram
April 5, 2026: LEMON Manuals is launched! Read the announcement.

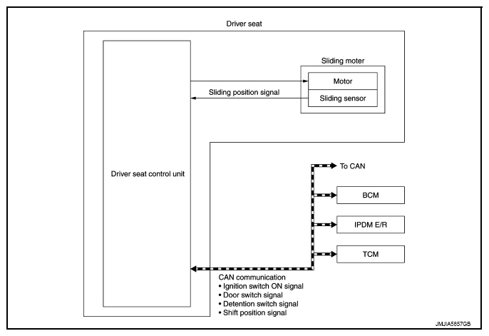
System Diagram

Fig 1: Identifying Exit Assist Function System Diagram
G08172840Courtesy of NISSAN NORTH AMERICA, INC.