LEMON Manuals: Even more car manuals for everyone: 1960-2025
Home >> Nissan-Datsun >> 2012 >> Quest SL >> Repair and Diagnosis (Single Page) >> Accessories & Equipment >> Entertainment Systems >> Audio, Visual, Navigation System (Base Audio) (With Separate Display) >> System Description >> System >> Multi Av System >> MULTI AV SYSTEM: System Diagram >> Notes
April 5, 2026: LEMON Manuals is launched! Read the announcement.

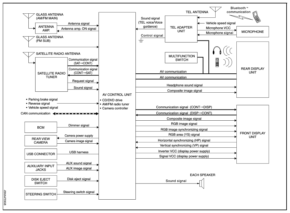
MULTI AV SYSTEM: System Diagram: Notes

Fig 1: Identifying Multi AV System Diagram
G08173916Courtesy of NISSAN NORTH AMERICA, INC.
NOTE: The name MULTIFUNCTION SWITCH indicates the integration of PRESET SWITCH and MULTIFUNCTION SWITCH virtually.