LEMON Manuals: Even more car manuals for everyone: 1960-2025
Home >> Nissan-Datsun >> 2012 >> Quest SL >> Repair and Diagnosis >> Transmission >> Automatic Transmission >> System Description >> System >> CVT Control System >> CVT CONTROL SYSTEM: System Diagram
April 5, 2026: LEMON Manuals is launched! Read the announcement.

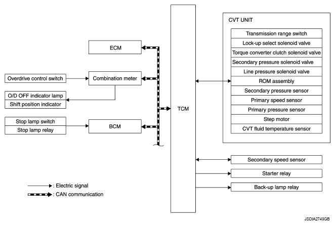
CVT CONTROL SYSTEM: System Diagram

Fig 1: Identifying CVT Control System Diagram
G07051964Courtesy of NISSAN NORTH AMERICA, INC.