LEMON Manuals: Even more car manuals for everyone: 1960-2025
Home >> Nissan-Datsun >> 2013 >> Frontier SL, 4WD >> Repair and Diagnosis >> Transmission >> Transfer Case >> Basic Inspection >> Diagnosis And Repair Workflow >> Work Flow >> Work Flow
April 5, 2026: LEMON Manuals is launched! Read the announcement.

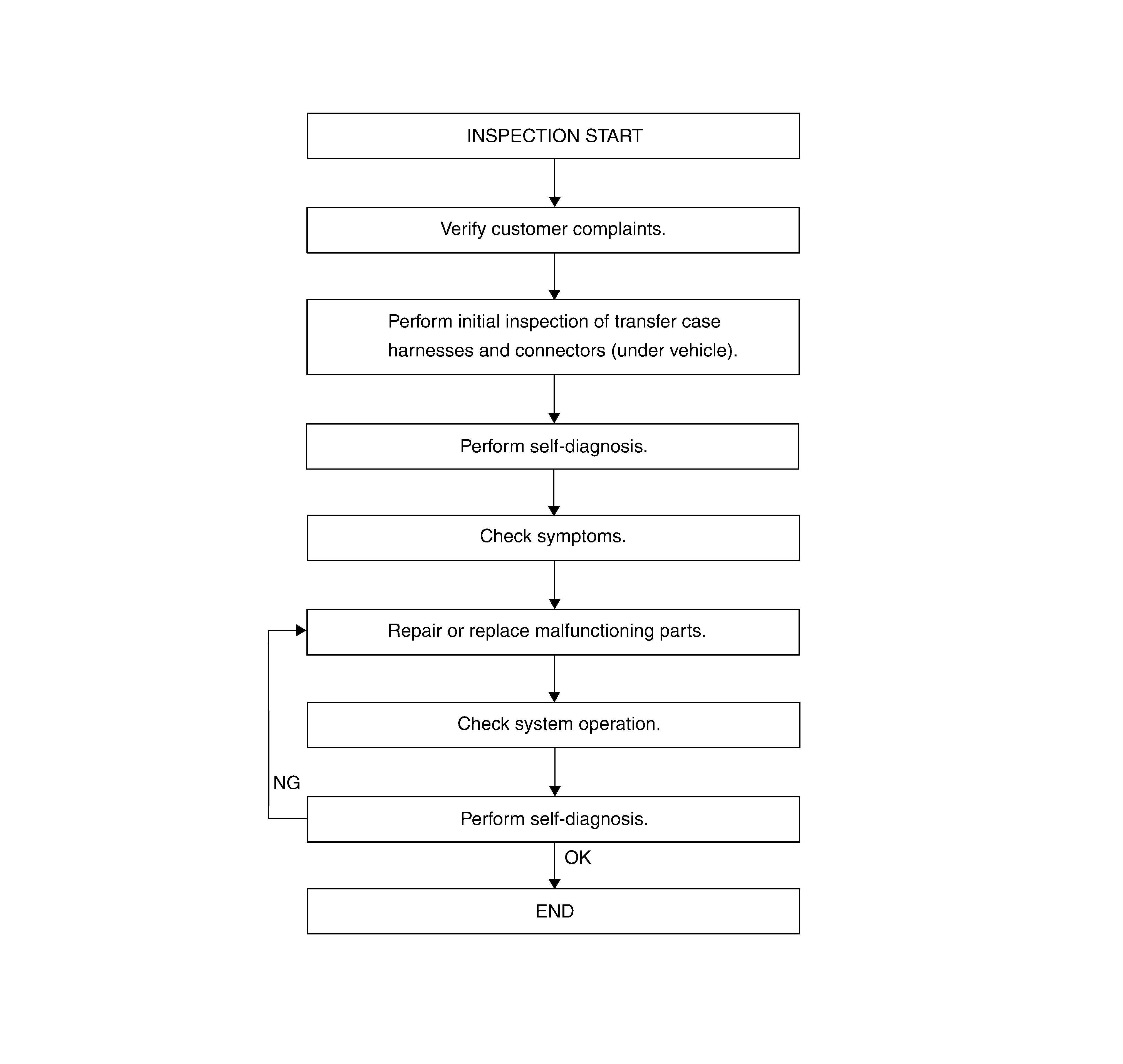
Work Flow

Fig 1: Diagnosis And Repair Workflow Chart
G05702026Courtesy of NISSAN NORTH AMERICA, INC.