LEMON Manuals: Even more car manuals for everyone: 1960-2025
Home >> Nissan-Datsun >> 2013 >> Maxima SV >> Repair and Diagnosis >> Engine Performance >> Fuel Delivery >> Fuel System >> Disassembly And Assembly >> Fuel Level Sensor Unit >> Disassembly and Assembly >> Disassembly
April 5, 2026: LEMON Manuals is launched! Read the announcement.

Disassembly and Assembly: Disassembly

NOTE: Before disassembly, note the proper placement of the wires to the correct terminals and correct wire routing to the terminals.
  1. Disconnect the red, white, and double black wire connectors.
    • Press the tabs on the terminals to release the locking tabs.
      Fig 1: Locating Red, White, And Double Black Wire Connectors
      G06555486Courtesy of NISSAN NORTH AMERICA, INC.
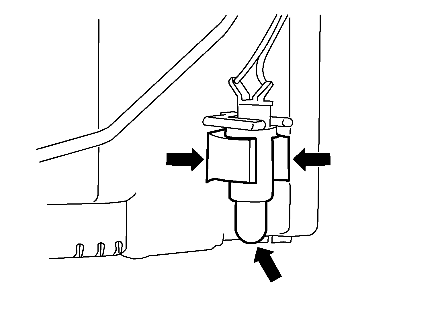
  2. Release the two clips and remove the fuel tank temperature sensor from the pump assembly.
    Fig 2: Removing Fuel Tank Temperature Sensor From Pump Assembly
    G06555487Courtesy of NISSAN NORTH AMERICA, INC.
  3. Release the tab (A) and slide the fuel level sensor unit and float arm assembly (B) up to remove.
    Fig 3: Sliding Fuel Level Sensor Unit And Float Arm Assembly Upward
    G06555488Courtesy of NISSAN NORTH AMERICA, INC.