FRONT MANUAL AIR CONDITIONING SYSTEM : System Description
WARNING: This page is about a different car, the 2011 Nissan Quest. However, it is still accessible from the selected car via links, so may be relevant.
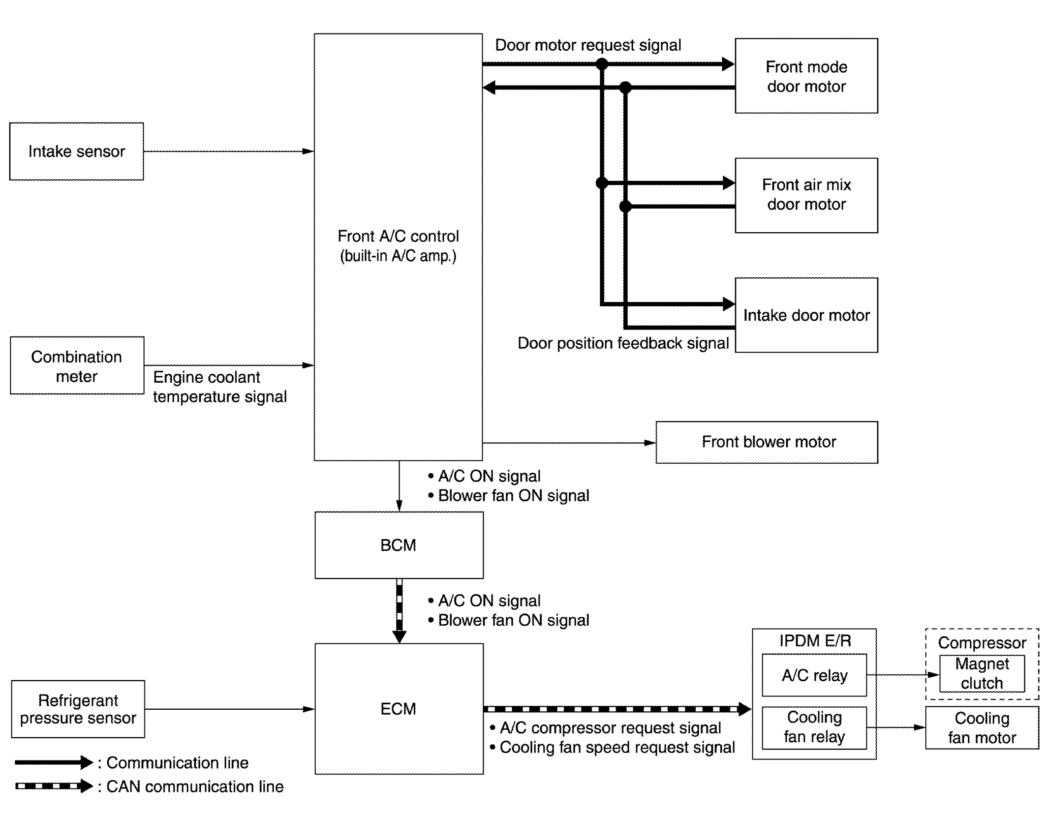
SYSTEM DIAGRAM
DESCRIPTION
- Front manual air conditioning system is controlled by each function of A/C amp., BCM, ECM and IPDM E/R.
- Each operation of front air conditioning can be controlled by front A/C control (built-in A/C amp.).
CONTROL BY A/C AMP.
- "FRONT MANUAL AIR CONDITIONING SYSTEM : AIR FLOW CONTROL "
- "FRONT MANUAL AIR CONDITIONING SYSTEM : AIR INLET CONTROL "
- "FRONT MANUAL AIR CONDITIONING SYSTEM : COMPRESSOR CONTROL "
- "FRONT MANUAL AIR CONDITIONING SYSTEM : DOOR CONTROL "
- Correction for input value
Intake temperature correction
- A/C amp. inputs the temperature detected by intake sensor as the intake temperature (front evaporator temperature).
- A/C amp. performs the correction of the temperature detected by intake sensor for front air conditioning control.
- A/C amp. performs the correction so that the recognition intake temperature changes depending on the difference between the detected intake temperature and the recognition intake temperature. If the difference is large, the changing is early. The changing becomes slow as the difference becomes small.
CONTROL BY BCM
CONTROL BY ECM
- "FRONT MANUAL AIR CONDITIONING SYSTEM : COMPRESSOR CONTROL "
- Cooling fan control. Refer to "COOLING FAN CONTROL : SYSTEM DESCRIPTION ".
CONTROL BY IPDM E/R
- "FRONT MANUAL AIR CONDITIONING SYSTEM : COMPRESSOR CONTROL "
- Cooling fan control. Refer to "RELAY CONTROL SYSTEM : SYSTEM DESCRIPTION ".