Precaution for Brake System
WARNING:
Since dust covering the front and rear brakes has an affect on human body, the dust must be removed with a dust collector. Never splatter the dust with an air blow gun.
- Brake fluid use refer to "RECOMMENDED FLUIDS AND LUBRICANTS ".
- Never reuse drained brake fluid.
- Never spill or splash brake fluid on painted surfaces. Brake fluid may seriously damage paint. Wipe it off immediately and wash with water if it gets on a painted surface.
- Always confirm the specified tightening torque when installing the brake pipes.
- After pressing the brake pedal more deeply or harder than normal driving, such as air bleeding, check each item of brake pedal. Adjust brake pedal if it is outside the standard value.
- Never use mineral oils such as gasoline or light oil to clean. They may damage rubber parts and cause improper operation.
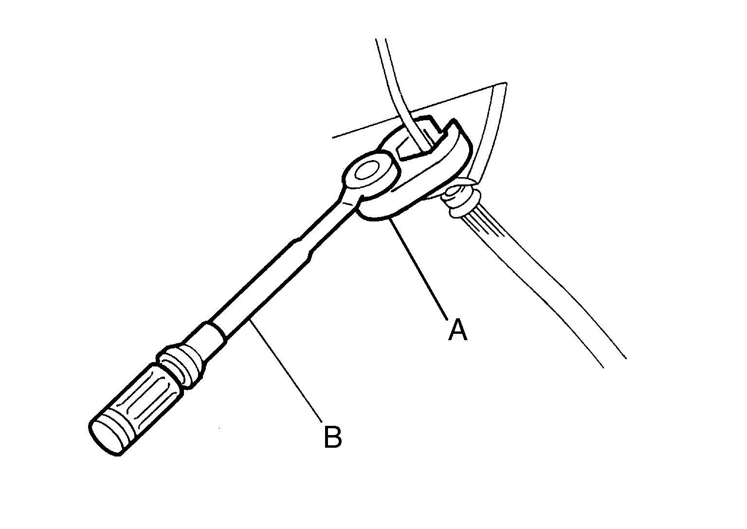
- Always loosen the brake tube flare nut with a flare nut wrench.
- Tighten the brake tube flare nut to the specified torque with a crowfoot (A) and torque wrench (B).
- Turn the ignition switch OFF and disconnect the ABS actuator and electric unit (control unit) harness connector or the battery negative terminal before performing the work.
- Check that no brake fluid leakage is present after replacing the parts.