LEMON Manuals: Even more car manuals for everyone: 1960-2025
Home >> Nissan-Datsun >> 2013 >> Quest SL >> Repair and Diagnosis (Single Page) >> Accessories & Equipment >> Anti-Theft Systems >> Doors & Locks - Introduction >> System Description >> System (Intelligent Key System) >> Intelligent Key System >> INTELLIGENT KEY SYSTEM: Circuit Diagram
April 5, 2026: LEMON Manuals is launched! Read the announcement.

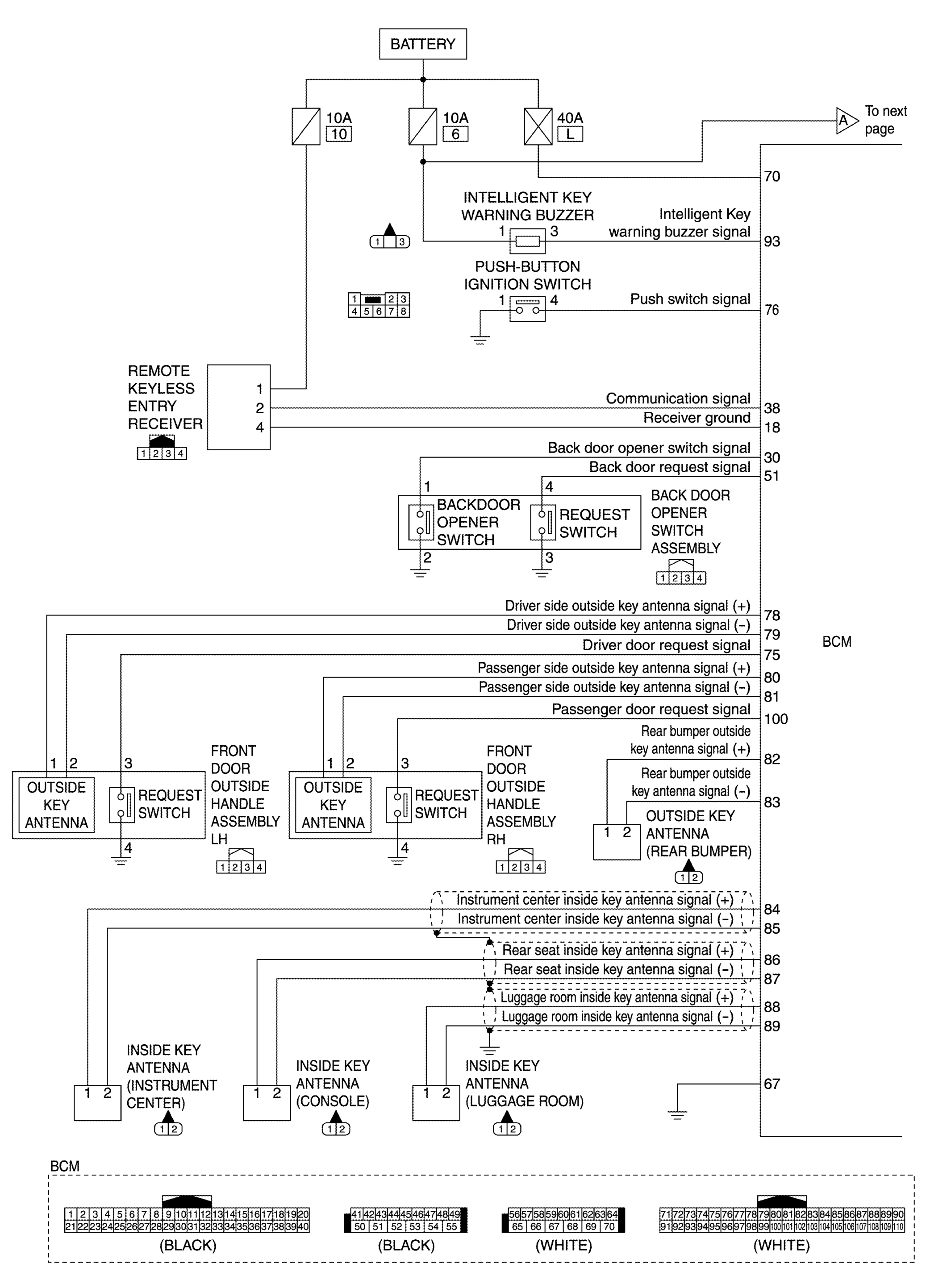
INTELLIGENT KEY SYSTEM: Circuit Diagram

Fig 1: Intelligent Key System Wiring Diagrams With Connector End Views (1 Of 2)
G07051663Courtesy of NISSAN NORTH AMERICA, INC.
Fig 2: Intelligent Key System Wiring Diagrams With Connector End Views (2 Of 2)
G07051664Courtesy of NISSAN NORTH AMERICA, INC.