LEMON Manuals: Even more car manuals for everyone: 1960-2025
Home >> Nissan-Datsun >> 2013 >> Quest SL >> Repair and Diagnosis (Single Page) >> Accessories & Equipment >> Communication Devices >> LAN System (Can) >> System Description >> System >> Can Communication System >> CAN COMMUNICATION SYSTEM: System Description >> System Diagram
April 5, 2026: LEMON Manuals is launched! Read the announcement.

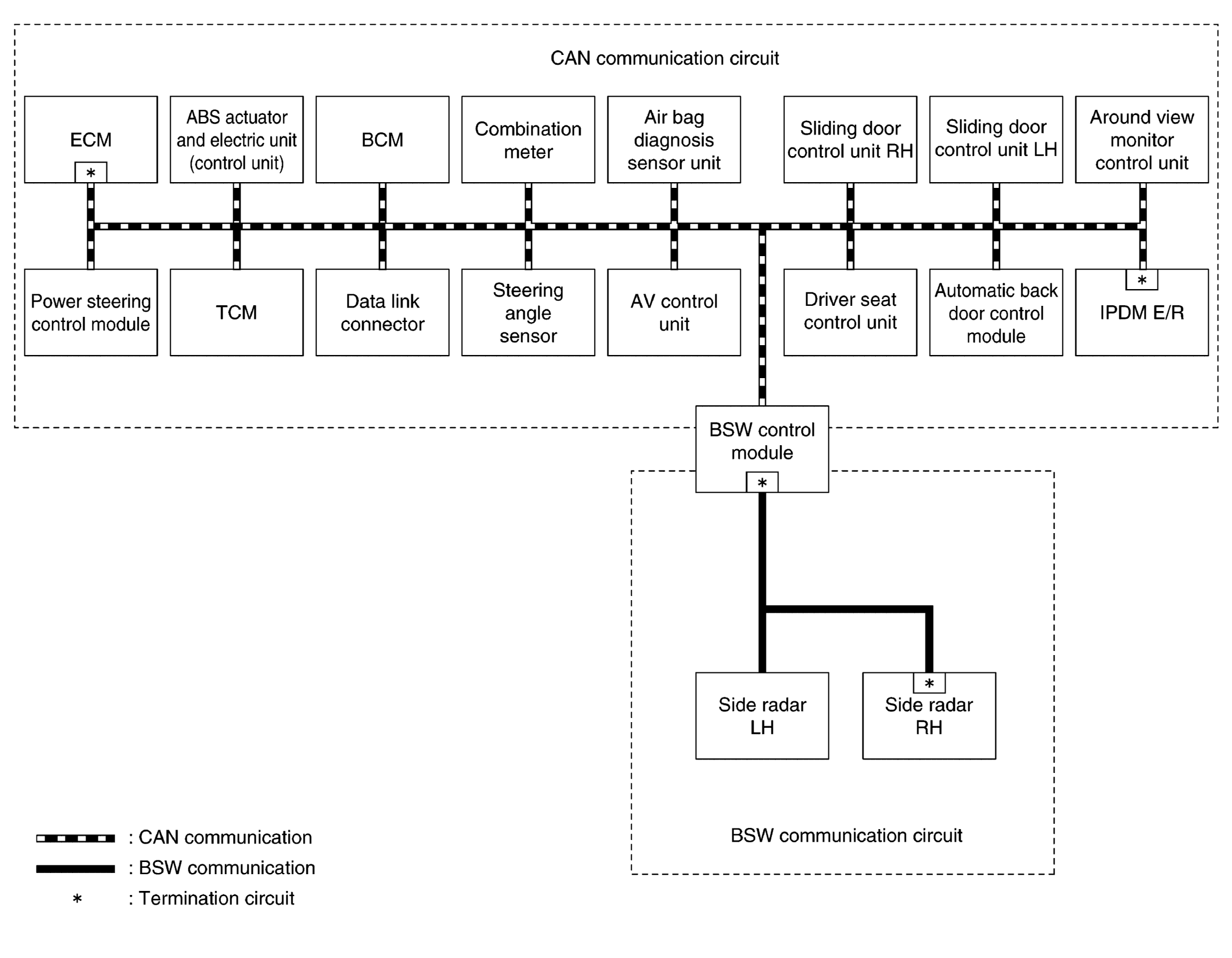
System Diagram

Fig 1: CAN Communication System Diagram
G08962052Courtesy of NISSAN NORTH AMERICA, INC.