LEMON Manuals: Even more car manuals for everyone: 1960-2025
Home >> Nissan-Datsun >> 2013 >> Quest SL >> Repair and Diagnosis (Single Page) >> Accessories & Equipment >> Entertainment Systems >> Audio, Visual & Navigation System (Base Audio Without Separate Display) >> System Description >> System >> Audio System >> AUDIO SYSTEM: Circuit Diagram
April 5, 2026: LEMON Manuals is launched! Read the announcement.

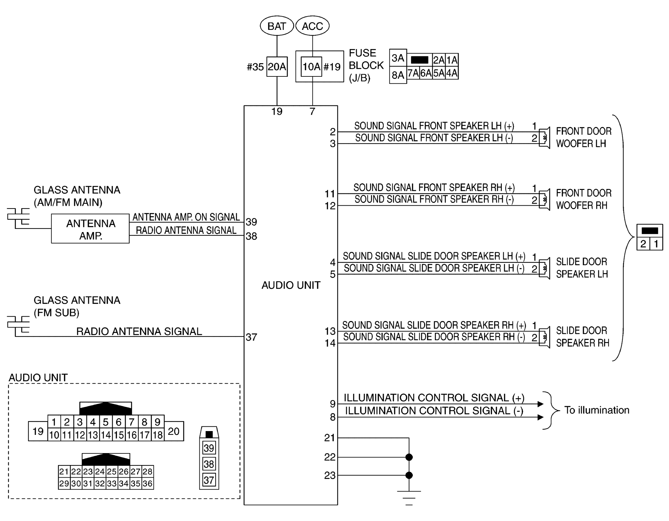
AUDIO SYSTEM: Circuit Diagram

Fig 1: Audio System Circuit Diagram
G08962315Courtesy of NISSAN NORTH AMERICA, INC.