LEMON Manuals: Even more car manuals for everyone: 1960-2025
Home >> Nissan-Datsun >> 2013 >> Rogue S, AWD >> Repair and Diagnosis >> Body & Frame >> Windows >> Power Window Control System >> System Description >> Power Window System >> System Diagram
April 5, 2026: LEMON Manuals is launched! Read the announcement.

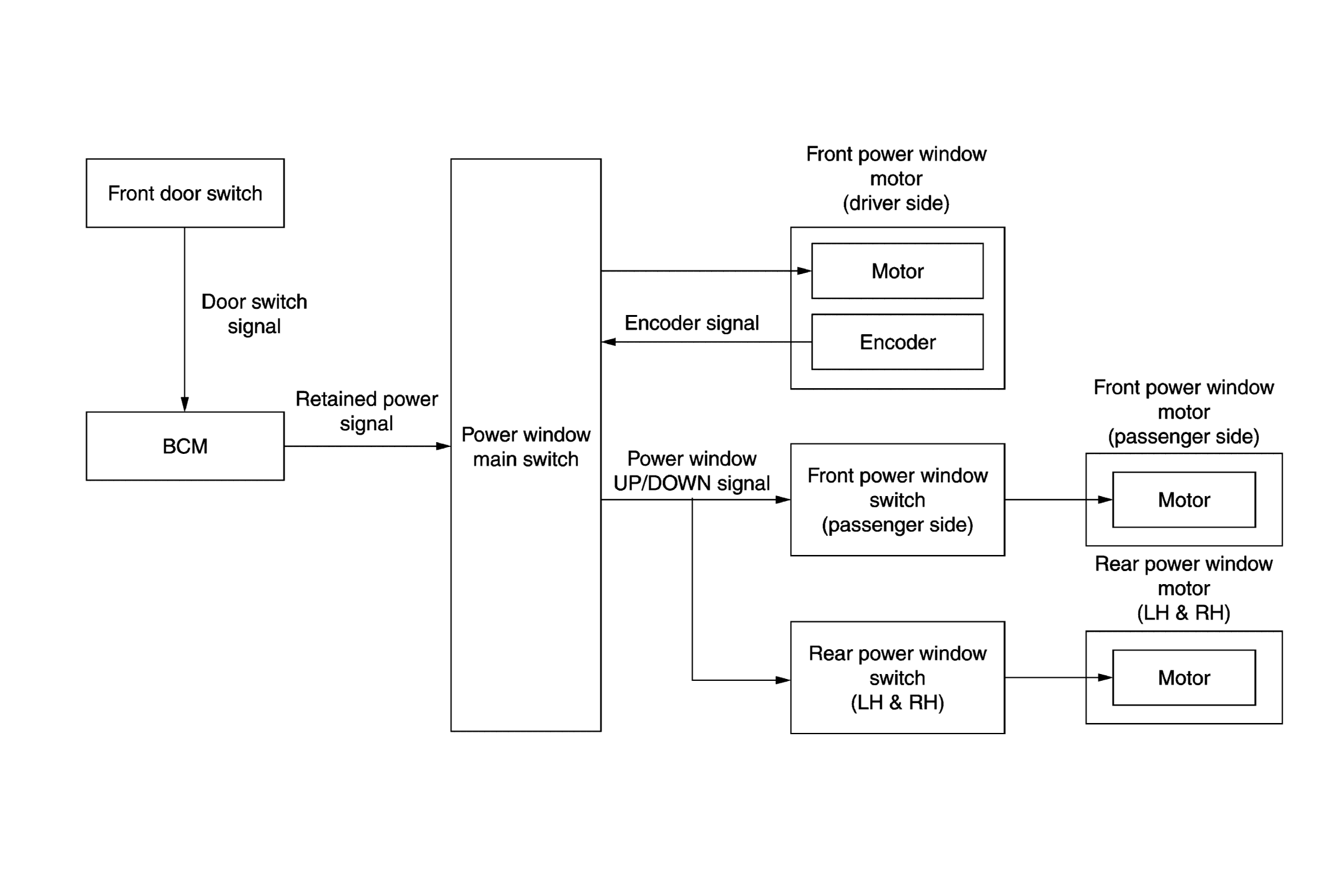
System Diagram

Fig 1: Power Window System Diagram
G08179358Courtesy of NISSAN NORTH AMERICA, INC.