LEMON Manuals: Even more car manuals for everyone: 1960-2025
Home >> Nissan-Datsun >> 2013 >> Sentra FE+S >> Repair and Diagnosis (Single Page) >> Accessories & Equipment >> Exterior Lights >> Exterior Lighting System >> System Description >> System >> Combination Switch Reading System >> COMBINATION SWITCH READING SYSTEM: System Diagram (Without Intelligent Key System)
April 5, 2026: LEMON Manuals is launched! Read the announcement.

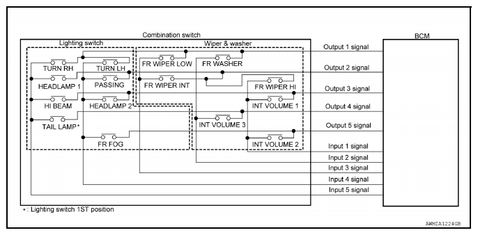
COMBINATION SWITCH READING SYSTEM: System Diagram (Without Intelligent Key System)

Fig 1: Combination Switch Reading - System Diagram
G08991371Courtesy of NISSAN NORTH AMERICA, INC.