LEMON Manuals: Even more car manuals for everyone: 1960-2025
Home >> Nissan-Datsun >> 2013 >> Sentra FE+S >> Repair and Diagnosis >> External Pages >> Different car >> Section 18 (Interior Lighting System) >> System Description >> System >> Interior Room Lamp Control System >> System Diagram
April 5, 2026: LEMON Manuals is launched! Read the announcement.

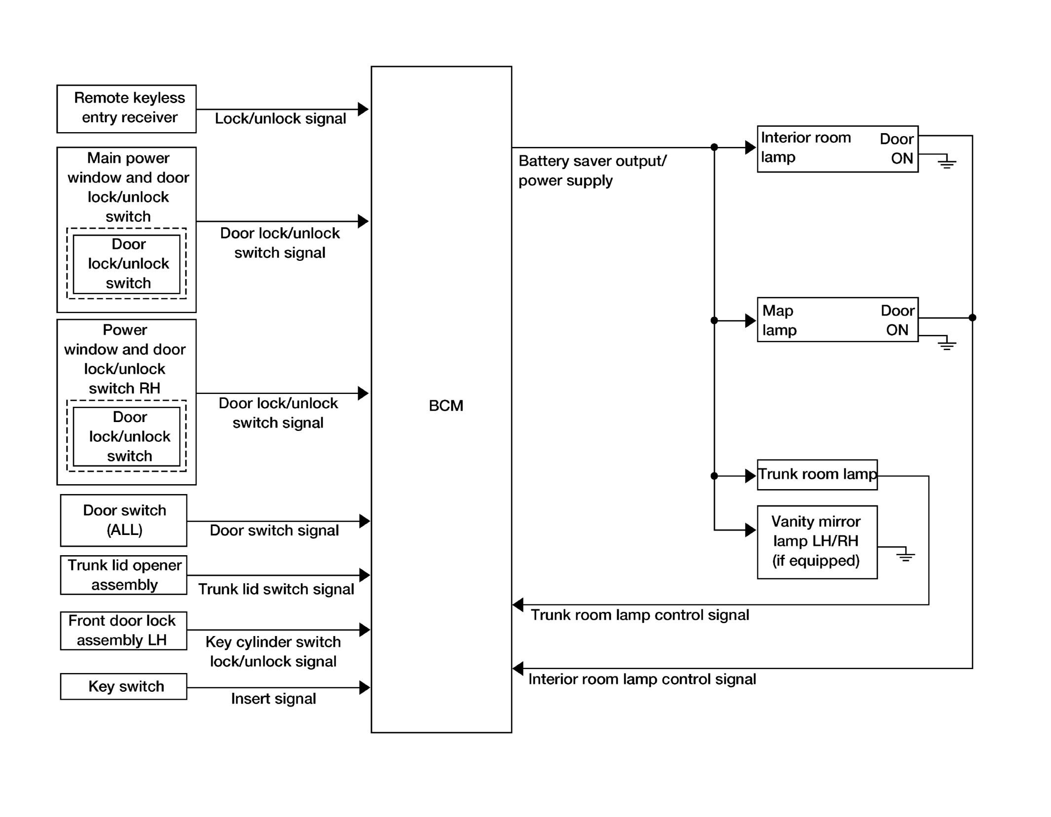
System Diagram

WARNING: This page is about a different car, the 2017 Nissan Sentra. However, it is still accessible from the selected car via links, so may be relevant.

WITH INTELLIGENT KEY

GNSAWLIA2586GB-586Courtesy of NISSAN NORTH AMERICA, INC.

WITHOUT INTELLIGENT KEY

GNSAWLIA2587GB-587Courtesy of NISSAN NORTH AMERICA, INC.