LEMON Manuals: Even more car manuals for everyone: 1960-2025
Home >> Nissan-Datsun >> 2013 >> Sentra SL >> Repair and Diagnosis >> Body & Frame >> Door Locks >> Security Control System (With Intelligent Key) >> System Description >> System >> Intelligent Key System/Engine Start Function >> INTELLIGENT KEY SYSTEM/ENGINE START FUNCTION: System Description >> System Diagram
April 5, 2026: LEMON Manuals is launched! Read the announcement.

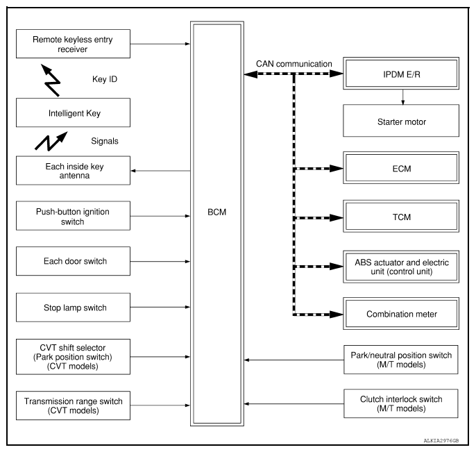
System Diagram

Fig 1: Intelligent Key System/Engine Start Function - System Diagram
G08991049Courtesy of NISSAN NORTH AMERICA, INC.