LEMON Manuals: Even more car manuals for everyone: 1960-2025
Home >> Nissan-Datsun >> 2013 >> Sentra SL >> Repair and Diagnosis >> Body & Frame >> Windows >> Power Window Control System >> System Description >> System >> System Diagram >> Front Power Window LH Anti-Pinch System
April 5, 2026: LEMON Manuals is launched! Read the announcement.

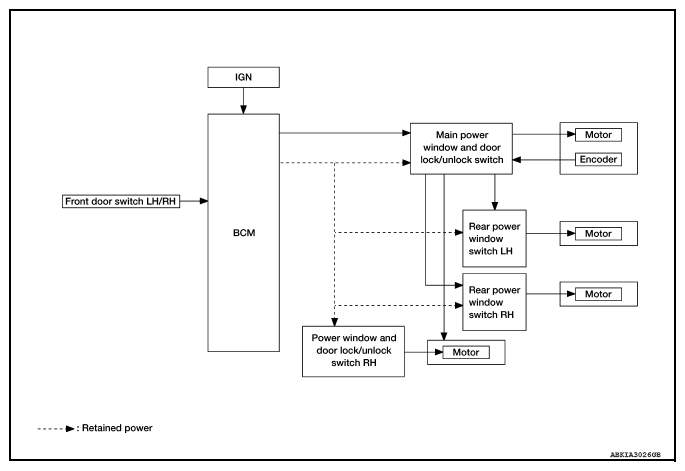
Front Power Window LH Anti-Pinch System

Fig 1: Power Window - System Diagram (Front Power Window LH Anti-Pinch System)
G08991150Courtesy of NISSAN NORTH AMERICA, INC.