LEMON Manuals: Even more car manuals for everyone: 1960-2025
Home >> Nissan-Datsun >> 2013 >> Sentra SL >> Repair and Diagnosis >> Engine Performance >> System >> Engine Control System (Diagnostic Codes & Symptom Tests) >> Removal And Installation >> ECM >> Exploded View
April 5, 2026: LEMON Manuals is launched! Read the announcement.

Exploded View

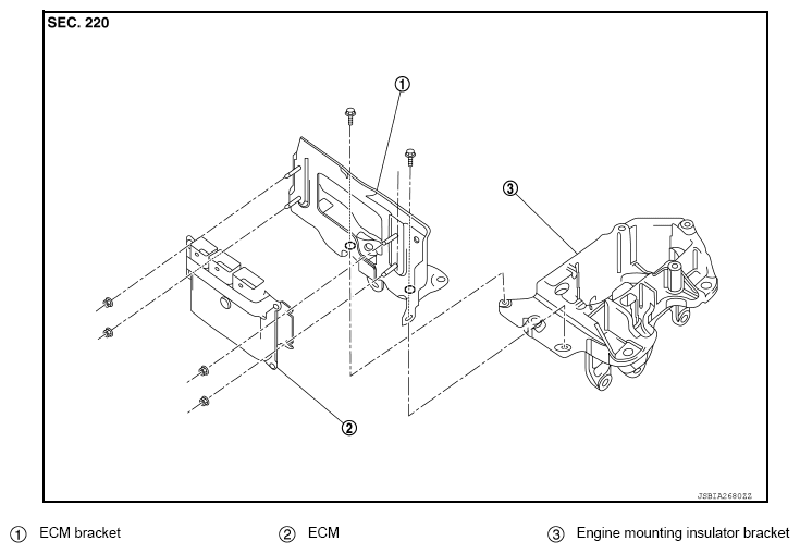
Fig 1: Identifying ECM Bracket, ECM, Engine Mounting Insulator Bracket
G08989386Courtesy of NISSAN NORTH AMERICA, INC.