LEMON Manuals: Even more car manuals for everyone: 1960-2025
Home >> Nissan-Datsun >> 2014 >> 370Z Base, 2D Convertible, Automatic Trans >> Repair and Diagnosis >> Brakes >> Brakes Control Systems >> Brake Control System >> Removal And Installation >> Yaw Rate/Side G Sensor >> Exploded View
April 5, 2026: LEMON Manuals is launched! Read the announcement.

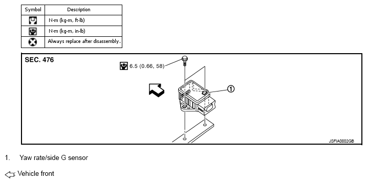
Exploded View

Fig 1: Yaw Rate/Side G Sensor With Torque Specifications
G09508087Courtesy of NISSAN NORTH AMERICA, INC.

Refer to "COMPONENTS " for symbols in the figure.