LEMON Manuals: Even more car manuals for everyone: 1960-2025
Home >> Nissan-Datsun >> 2014 >> Altima Base >> Repair and Diagnosis (Single Page) >> Accessories & Equipment >> Anti-Theft Systems >> Security Control System >> System Description >> System >> Vehicle Security System >> VEHICLE SECURITY SYSTEM: System Diagram
April 5, 2026: LEMON Manuals is launched! Read the announcement.

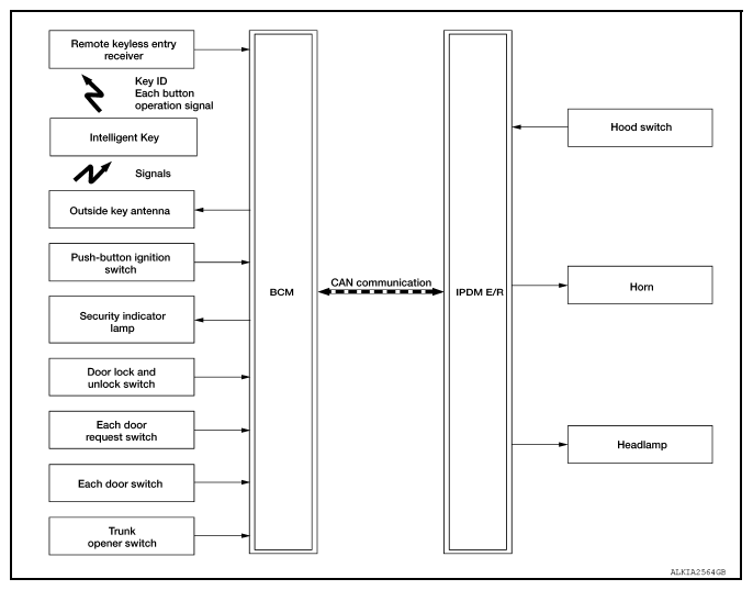
VEHICLE SECURITY SYSTEM: System Diagram

Fig 1: Vehicle Security System Diagram
G08683303Courtesy of NISSAN NORTH AMERICA, INC.