LEMON Manuals: Even more car manuals for everyone: 1960-2025
Home >> Nissan-Datsun >> 2014 >> Juke SL, 4WD >> Repair and Diagnosis >> Body & Frame >> Windows >> Power Window Control System >> System Description >> System >> Power Window System >> POWER WINDOW SYSTEM: System Diagram
April 5, 2026: LEMON Manuals is launched! Read the announcement.

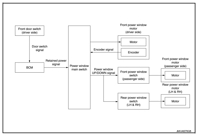
POWER WINDOW SYSTEM: System Diagram

Fig 1: Power Window - System Diagram
G09245177Courtesy of NISSAN NORTH AMERICA, INC.