LEMON Manuals: Even more car manuals for everyone: 1960-2025
Home >> Nissan-Datsun >> 2014 >> Juke SL, 4WD >> Repair and Diagnosis >> Brakes >> Traction Control >> Brake Control System >> System Description >> System >> TCS Function >> TCS FUNCTION: System Description >> System Diagram
April 5, 2026: LEMON Manuals is launched! Read the announcement.

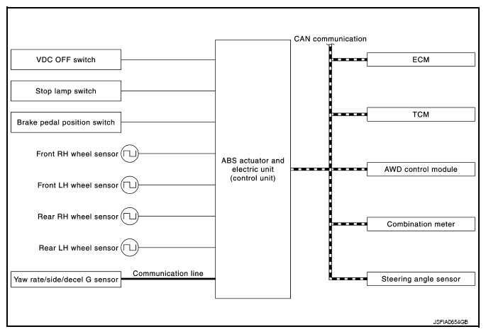
System Diagram

NOTE:
  • TCM is CVT models only.
  • AWD control module is AWD models only.
Fig 1: TCS - System Diagram
G09244768Courtesy of NISSAN NORTH AMERICA, INC.