LEMON Manuals: Even more car manuals for everyone: 1960-2025
Home >> Nissan-Datsun >> 2014 >> Leaf SL >> Repair and Diagnosis >> Hybrid/Electric Powertrain >> Electric Converters and Controllers >> EV Control System (Introduction) >> System Description >> Operation >> Automatic Speed Control Device (ASCD) >> AUTOMATIC SPEED CONTROL DEVICE (ASCD): Switch Name and Function >> Function
April 5, 2026: LEMON Manuals is launched! Read the announcement.

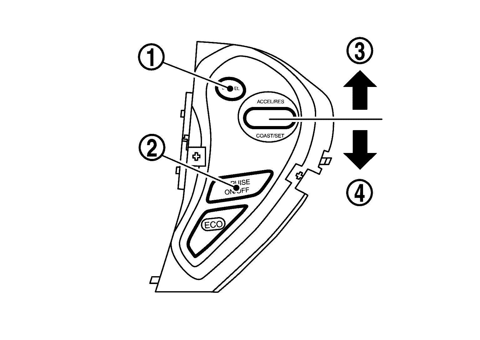
AUTOMATIC SPEED CONTROL DEVICE (ASCD): Switch Name and Function: Function

Functions of each switch are listed in the following table.

Fig 1: Identifying Automatic Speed Control Device Switches
G08702979Courtesy of NISSAN NORTH AMERICA, INC.