LEMON Manuals: Even more car manuals for everyone: 1960-2025
Home >> Nissan-Datsun >> 2014 >> Quest LE >> Repair and Diagnosis >> External Pages >> Different car >> Section 30 (Body Control System) >> System Description >> System >> Signal Buffer System >> SIGNAL BUFFER SYSTEM : System Description >> System Diagram
April 5, 2026: LEMON Manuals is launched! Read the announcement.

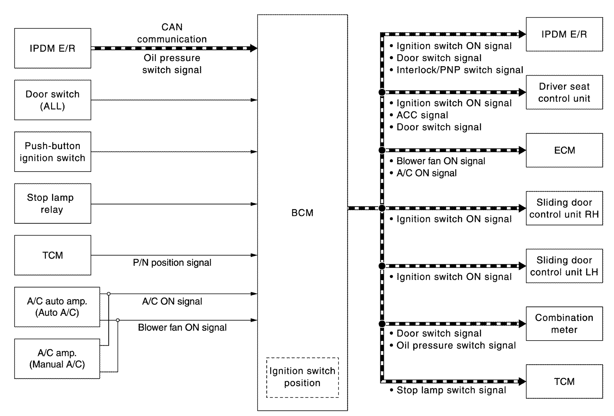
System Diagram

WARNING: This page is about a different car, the 2011 Nissan Quest. However, it is still accessible from the selected car via links, so may be relevant.
Fig 1: Signal Buffer System Diagram
G07053726Courtesy of NISSAN MOTOR CO., U.S.A.