LEMON Manuals: Even more car manuals for everyone: 1960-2025
Home >> Nissan-Datsun >> 2014 >> Rogue SL, FWD >> Repair and Diagnosis >> Restraints >> Restraints Control Systems >> SRS Airbag Control System >> System Description >> System >> Occupant Classification System >> OCCUPANT CLASSIFICATION SYSTEM: System Description >> System Diagram
April 5, 2026: LEMON Manuals is launched! Read the announcement.

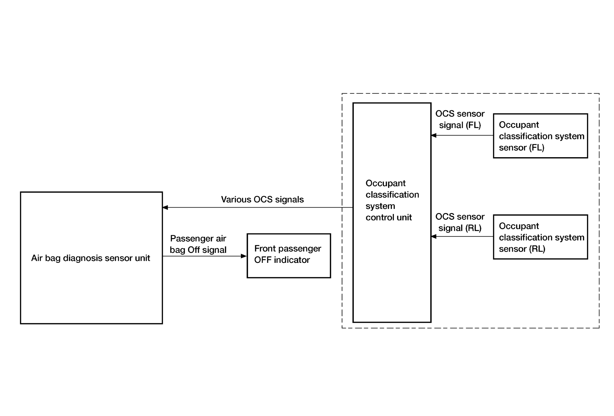
System Diagram

Fig 1: Occupant Classification System Diagram
G09156769Courtesy of NISSAN NORTH AMERICA, INC.