LEMON Manuals: Even more car manuals for everyone: 1960-2025
Home >> Nissan-Datsun >> 2014 >> Rogue Select AWD >> Repair and Diagnosis >> Electrical >> Body Electrical >> Power Control System (IPDM/Er) >> System Description >> Relay Control System >> System Diagram
April 5, 2026: LEMON Manuals is launched! Read the announcement.

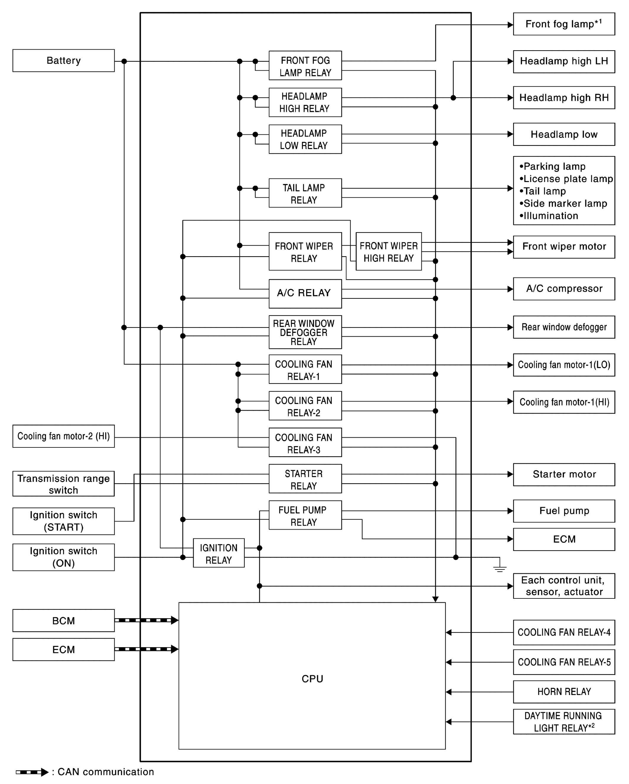
System Diagram

Fig 1: Relay Control - System Diagram
G07135836Courtesy of NISSAN NORTH AMERICA, INC.
NOTE:
  • *1: With front fog lamp system
  • *2: With daytime running light system