LEMON Manuals: Even more car manuals for everyone: 1960-2025
Home >> Nissan-Datsun >> 2014 >> Rogue Select AWD >> Repair and Diagnosis >> External Pages >> Different car >> Section 44 (Body Control System (Without Intelligent Key System)) >> System Description >> System >> Combination Switch Reading System >> COMBINATION SWITCH READING SYSTEM: System Diagram
April 5, 2026: LEMON Manuals is launched! Read the announcement.

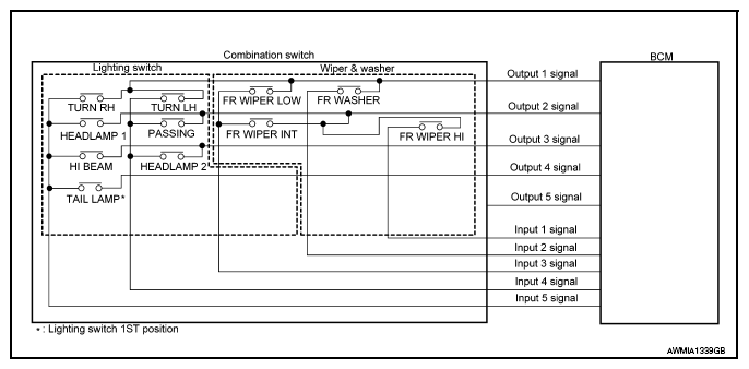
COMBINATION SWITCH READING SYSTEM: System Diagram

WARNING: This page is about a different car, the 2014 Nissan Versa. However, it is still accessible from the selected car via links, so may be relevant.
Fig 1: Combination Switch Reading - System Diagram
G09052626Courtesy of NISSAN NORTH AMERICA, INC.