LEMON Manuals: Even more car manuals for everyone: 1960-2025
Home >> Nissan-Datsun >> 2014 >> Rogue Select AWD >> Repair and Diagnosis >> Transmission >> Transfer Case >> System Description >> AWD System >> System Diagram >> Notes
April 5, 2026: LEMON Manuals is launched! Read the announcement.

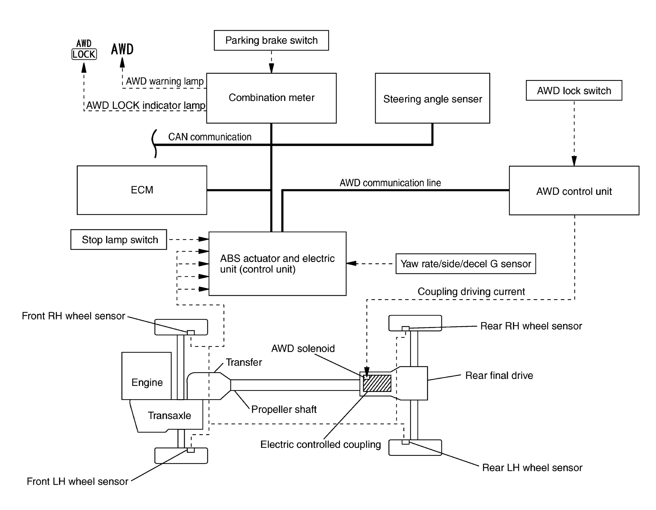
System Diagram: Notes

Fig 1: AWD - System Diagram
G05370131Courtesy of NISSAN NORTH AMERICA, INC.