LEMON Manuals: Even more car manuals for everyone: 1960-2025
Home >> Nissan-Datsun >> 2014 >> Sentra SL >> Repair and Diagnosis (Single Page) >> Accessories & Equipment >> Communication Devices >> Body Control System (Without Intelligent Key System) >> System Description >> System >> Combination Switch Reading System >> COMBINATION SWITCH READING SYSTEM: System Description >> Combination Switch Reading Function
April 5, 2026: LEMON Manuals is launched! Read the announcement.

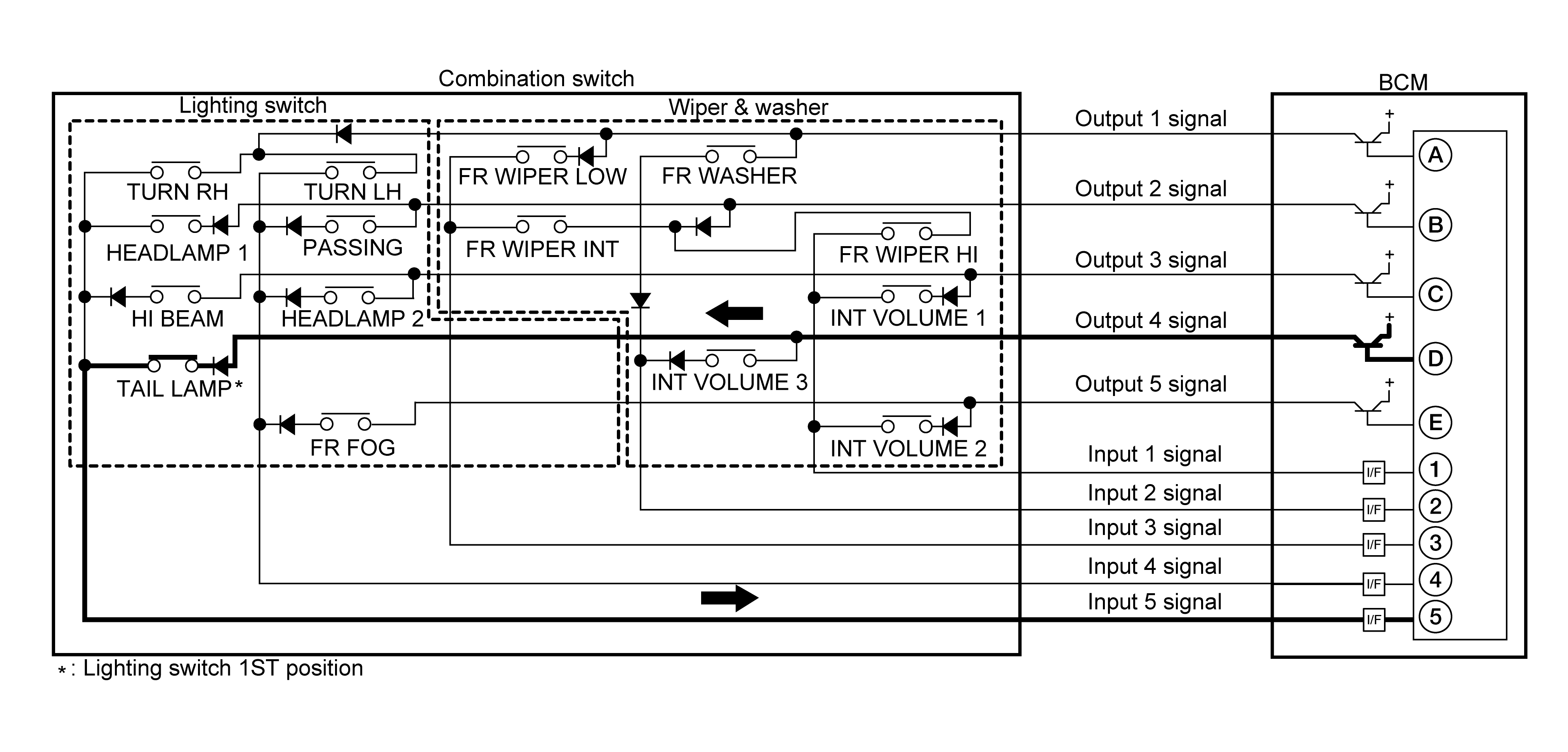
Combination Switch Reading Function

Description

Operation Example

In the following operation example, the combination of the status signals of the combination switch is replaced as follows: INPUT 1 - 5 to "1 - 5" and OUTPUT 1 - 5 to "A - E".

Example 1: When a switch (TAIL LAMP) is turned ON

Example 2: When some switches (TURN RH, TAIL LAMP) are turned ON