LEMON Manuals: Even more car manuals for everyone: 1960-2025
Home >> Nissan-Datsun >> 2014 >> Sentra SV >> Repair and Diagnosis (Single Page) >> Accessories & Equipment >> Communication Devices >> Body Control System (With Intelligent Key System) >> System Description >> System >> Combination Switch Reading System >> COMBINATION SWITCH READING SYSTEM: System Diagram
April 5, 2026: LEMON Manuals is launched! Read the announcement.

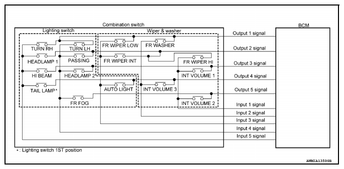
COMBINATION SWITCH READING SYSTEM: System Diagram

Fig 1: Combination Switch Reading - System Diagram
G08991556Courtesy of NISSAN NORTH AMERICA, INC.