LEMON Manuals: Even more car manuals for everyone: 1960-2025
Home >> Nissan-Datsun >> 2015 >> Leaf SL >> Repair and Diagnosis >> External Pages >> Different car >> Section 98 (Security Control System (With Intelligent Key System)) >> With Intelligent Key System >> DTC/Circuit Diagnosis >> Power Supply And Ground Circuit >> BCM
April 5, 2026: LEMON Manuals is launched! Read the announcement.

Power Supply And Ground Circuit: BCM

WARNING: This page is about a different car, the 2015 Nissan Armada. However, it is still accessible from the selected car via links, so may be relevant.

Regarding Wiring Diagram information, refer to WIRING DIAGRAM .

  1. CHECK FUSES AND FUSIBLE LINK

    Check that the following fuses and fusible link are not blown.

    Terminal No. Signal name Fuses and fusible link No.
    57 Battery power supply 22 (15A)
    70 F (50A)
    11 Ignition ACC or ON 4 (10A)
    38 Ignition ON or START 59 (10A)

    Is the fuse blown?

    YES 

    Replace the blown fuse or fusible link after repairing the affected circuit.

    NO 

    GO TO STEP 2 

  2. CHECK POWER SUPPLY CIRCUIT

    1. Turn ignition switch OFF.
    2. Disconnect BCM.
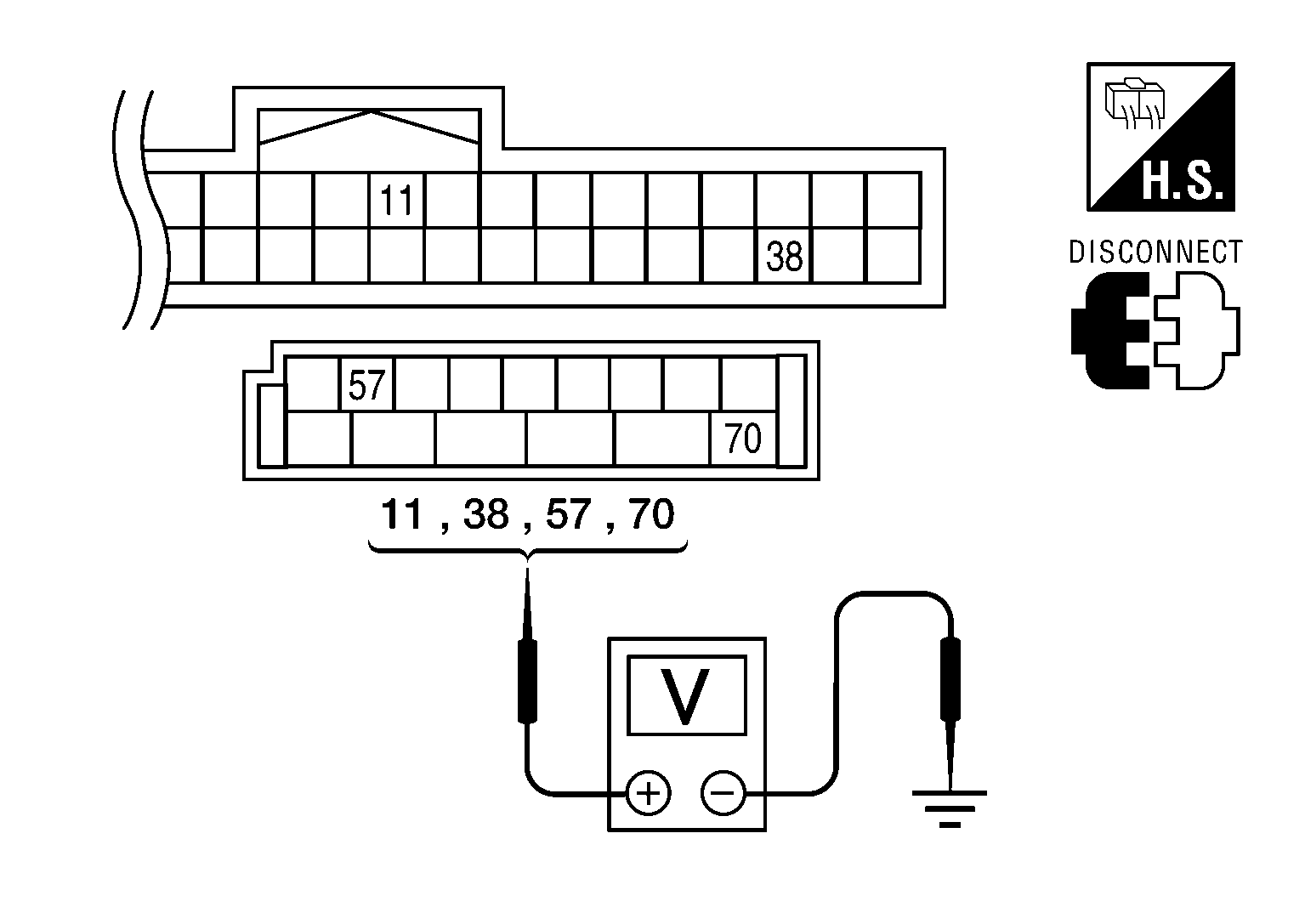
    3. Check voltage between BCM harness connector and ground.
      Fig 1: Checking Voltage Between BCM Harness Connector And Ground
      G04151990Courtesy of NISSAN NORTH AMERICA, INC.
      Connector Terminals Power
      source
      Condition Voltage (V) (Approx.)
      (+) (-)
      M18 11 Ground ACC power supply Ignition switch ACC or ON Battery voltage
      38 Ground Ignition power supply Ignition switch ON or START Battery voltage
      M20 57 Ground Battery power supply Ignition switch OFF Battery voltage
      70 Ground Battery power supply Ignition switch OFF Battery voltage

    Is the measurement value normal?

    YES 

    GO TO STEP 3 

    NO 

    Repair or replace harness.

  3. CHECK GROUND CIRCUIT

    Check continuity between BCM harness connector and ground.

    Fig 2: Checking Continuity Between BCM Connector M20 Terminal 67 And Ground
    G04151991Courtesy of NISSAN NORTH AMERICA, INC.
    BCM Ground Continuity
    Connector Terminal
    M20 67 Yes

    Does continuity exist?

    YES 

    Inspection End.

    NO 

    Repair or replace harness.