LEMON Manuals: Even more car manuals for everyone: 1960-2025
Home >> Nissan-Datsun >> 2015 >> Rogue SL, AWD >> Repair and Diagnosis >> Engine Performance >> Fuel Delivery >> Fuel System >> Disassembly And Assembly >> Fuel Level Sensor Unit >> Exploded View With Torque Specifications
April 5, 2026: LEMON Manuals is launched! Read the announcement.

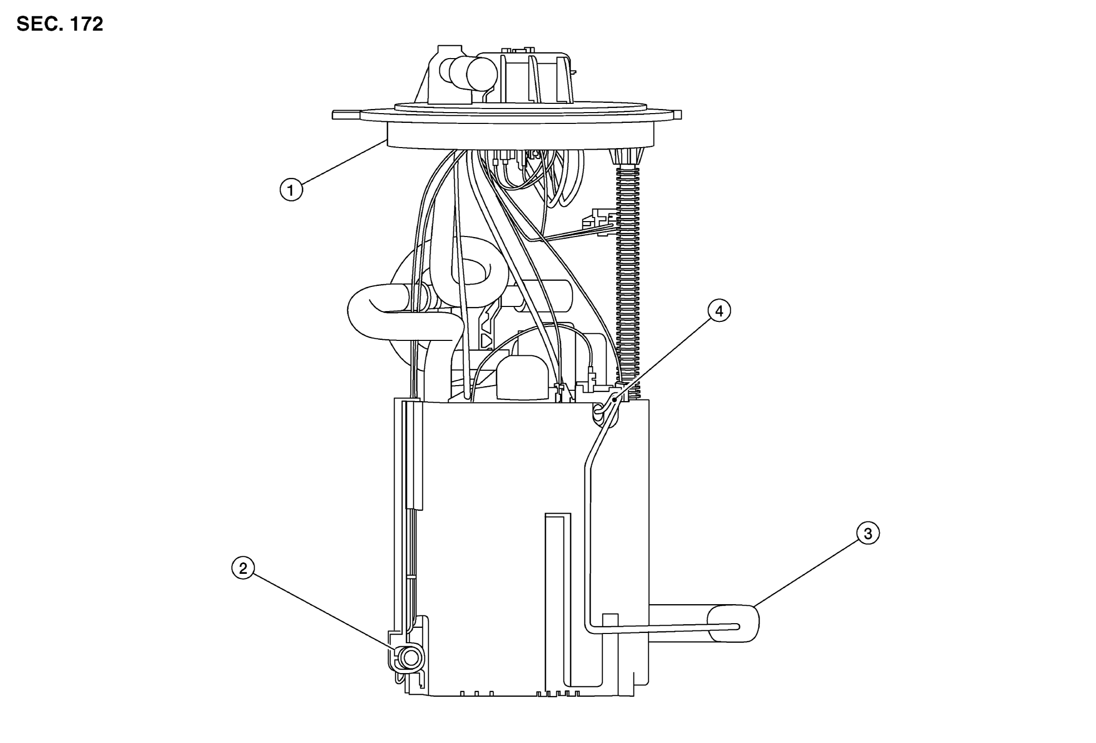
Exploded View With Torque Specifications

Fuel Level Sensor Unit 

Fig 1: View Of Fuel Level Sensor Unit
GNSALBIA1198ZZ-198Courtesy of NISSAN NORTH AMERICA, INC.
1. Fuel filter and pump assembly 2. Fuel level sensor unit 3. Float arm assembly
4. Fuel tank temperature sensor