LEMON Manuals: Even more car manuals for everyone: 1960-2025
Home >> Nissan-Datsun >> 2015 >> Rogue SL, AWD >> Repair and Diagnosis >> External Pages >> Different car >> Section 91 (Security Control System (With Intelligent Key System)) >> System Description >> System >> Vehicle Security System >> System Diagram
April 5, 2026: LEMON Manuals is launched! Read the announcement.

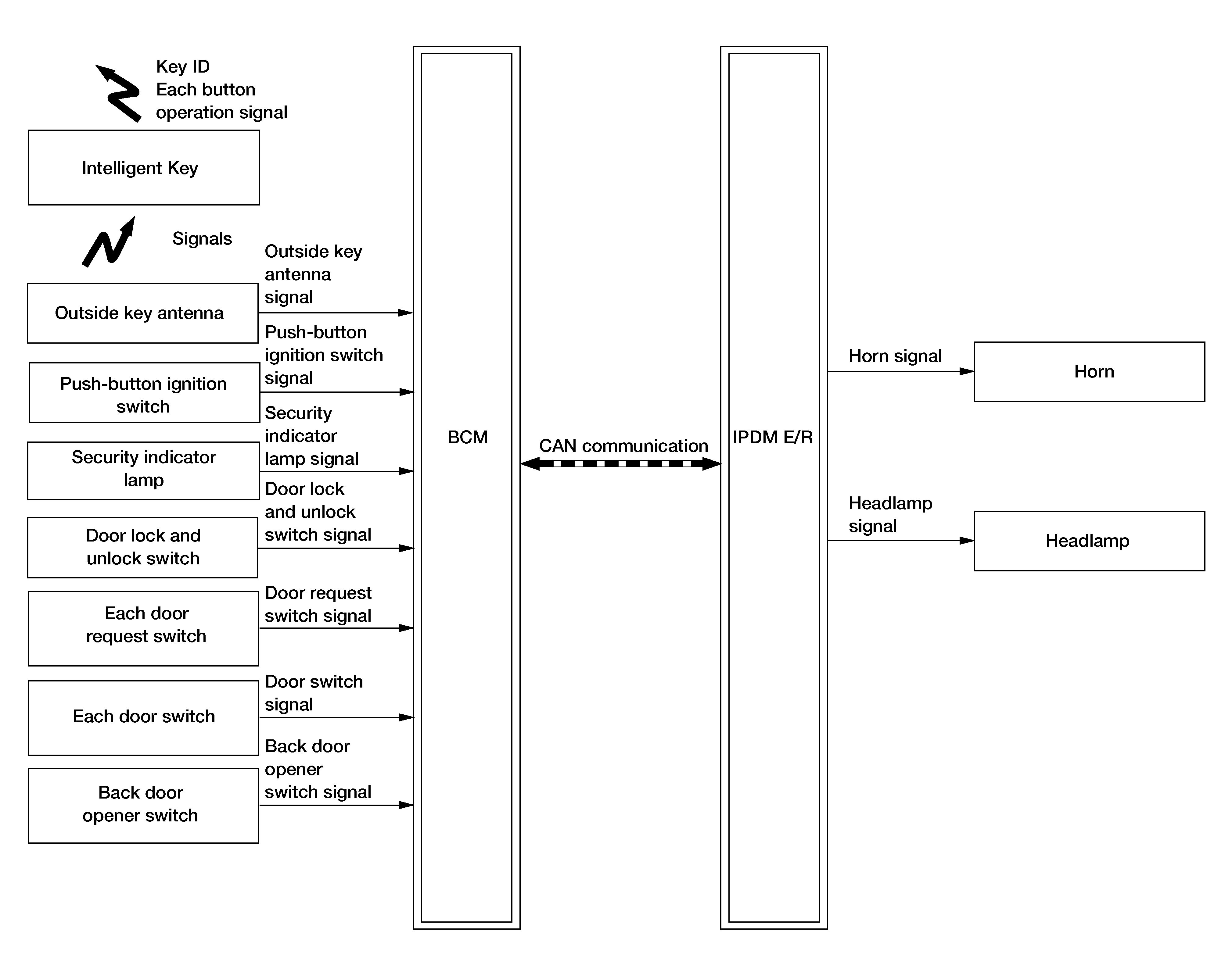
System Diagram

WARNING: This page is about a different car, the 2016 Nissan Rogue. However, it is still accessible from the selected car via links, so may be relevant.
Fig 1: Vehicle Security System Diagram
GNSALKIA3684GB-684Courtesy of NISSAN NORTH AMERICA, INC.