LEMON Manuals: Even more car manuals for everyone: 1960-2025
Home >> Nissan-Datsun >> 2015 >> Rogue Select AWD >> Repair and Diagnosis >> Transmission >> Transfer Case >> System Description >> AWD System >> System Description >> Power Transfer Diagram
April 5, 2026: LEMON Manuals is launched! Read the announcement.

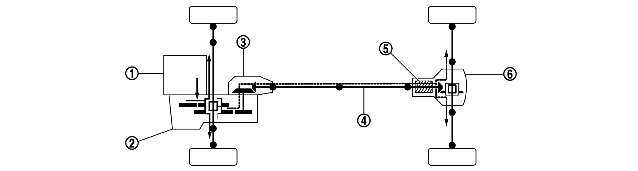
Power Transfer Diagram

Fig 1: Power Transfer Diagram
GNSJSDIA0208ZZ-208Courtesy of NISSAN NORTH AMERICA, INC.
1. Engine 2. Transaxle 3. Transfer
4. Propeller shaft 5. Electric controlled coupling 6. Rear final drive