LEMON Manuals: Even more car manuals for everyone: 1960-2025
Home >> Nissan-Datsun >> 2015 >> Rogue Select AWD >> Repair and Diagnosis >> Transmission >> Transfer Case >> System Description >> AWD System >> System Diagram >> Cross-Sectional View
April 5, 2026: LEMON Manuals is launched! Read the announcement.

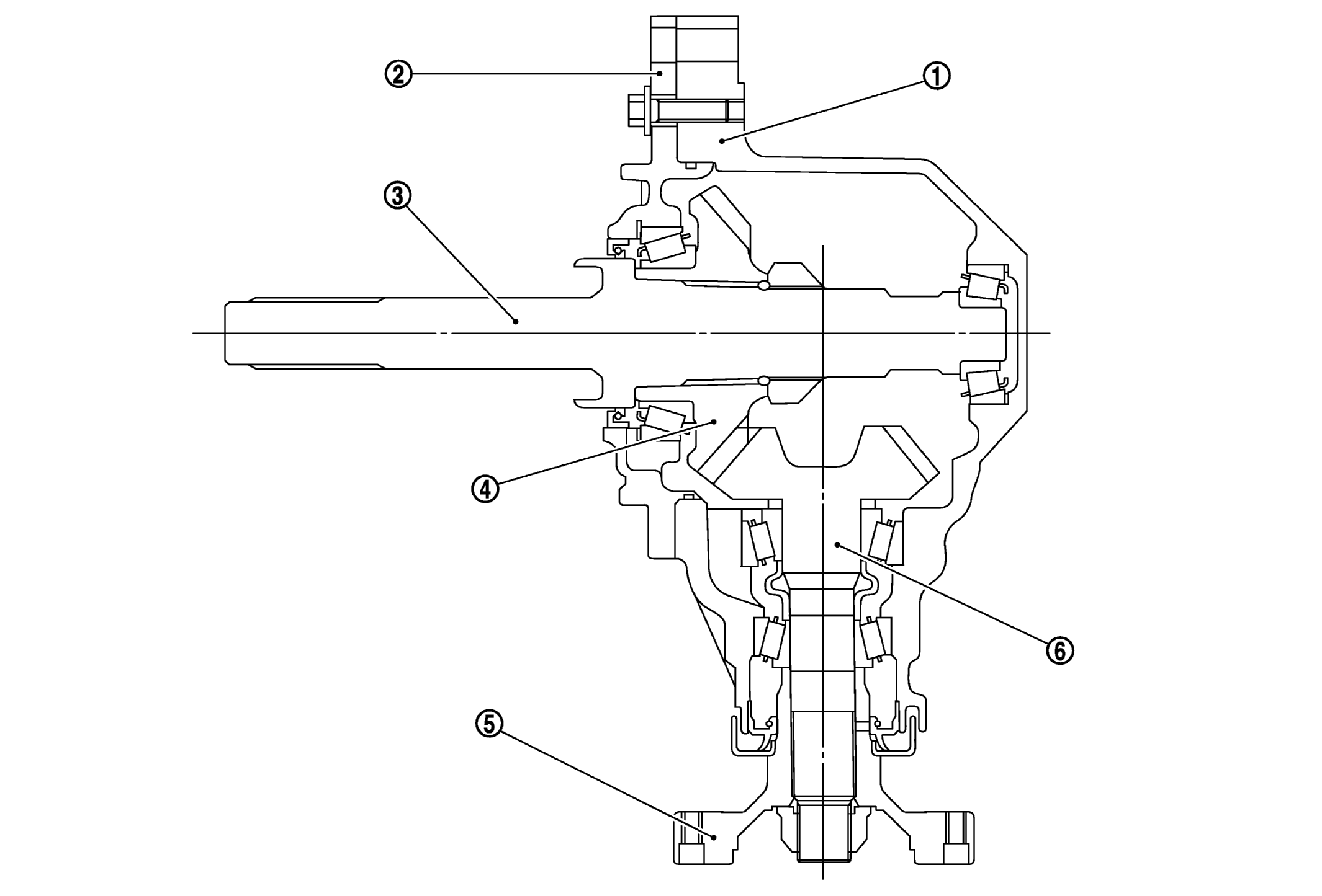
Cross-Sectional View

Fig 1: Cross-Sectional View Of AWD System
G06056612Courtesy of NISSAN NORTH AMERICA, INC.
1. Transfer case 2. Adapter case 3. Ring gear shaft
4. Ring gear 5. Companion flange 6. Drive pinion