LEMON Manuals: Even more car manuals for everyone: 1960-2025
Home >> Nissan-Datsun >> 2015 >> Rogue Select AWD >> Repair and Diagnosis >> Transmission >> Transfer Case >> Unit Disassembly And Assembly >> Adapter Case >> Assembly
April 5, 2026: LEMON Manuals is launched! Read the announcement.

Adapter Case: Assembly

  1. Install O-ring to adapter case.
    CAUTION:
    • Never reuse O-ring.
    • When installing O-ring, never use a tool.
    • Never damage adapter case.
    • Apply multi-purpose grease to O-ring.
  2. Install adapter case to the transfer case.
  3. Apply anti-corrosive oil onto threads and seats of bolts (ARROWF ), and tighten with the specified torque.
    Fig 1: Locating Adapter Case Mounting Bolts
    G05370168Courtesy of NISSAN NORTH AMERICA, INC.
  4. Check backlash, tooth contact, total preload and companion flange runout. Refer to ADJUSTMENT .
    CAUTION:

    Measure the total preload without the adapter case oil seal.

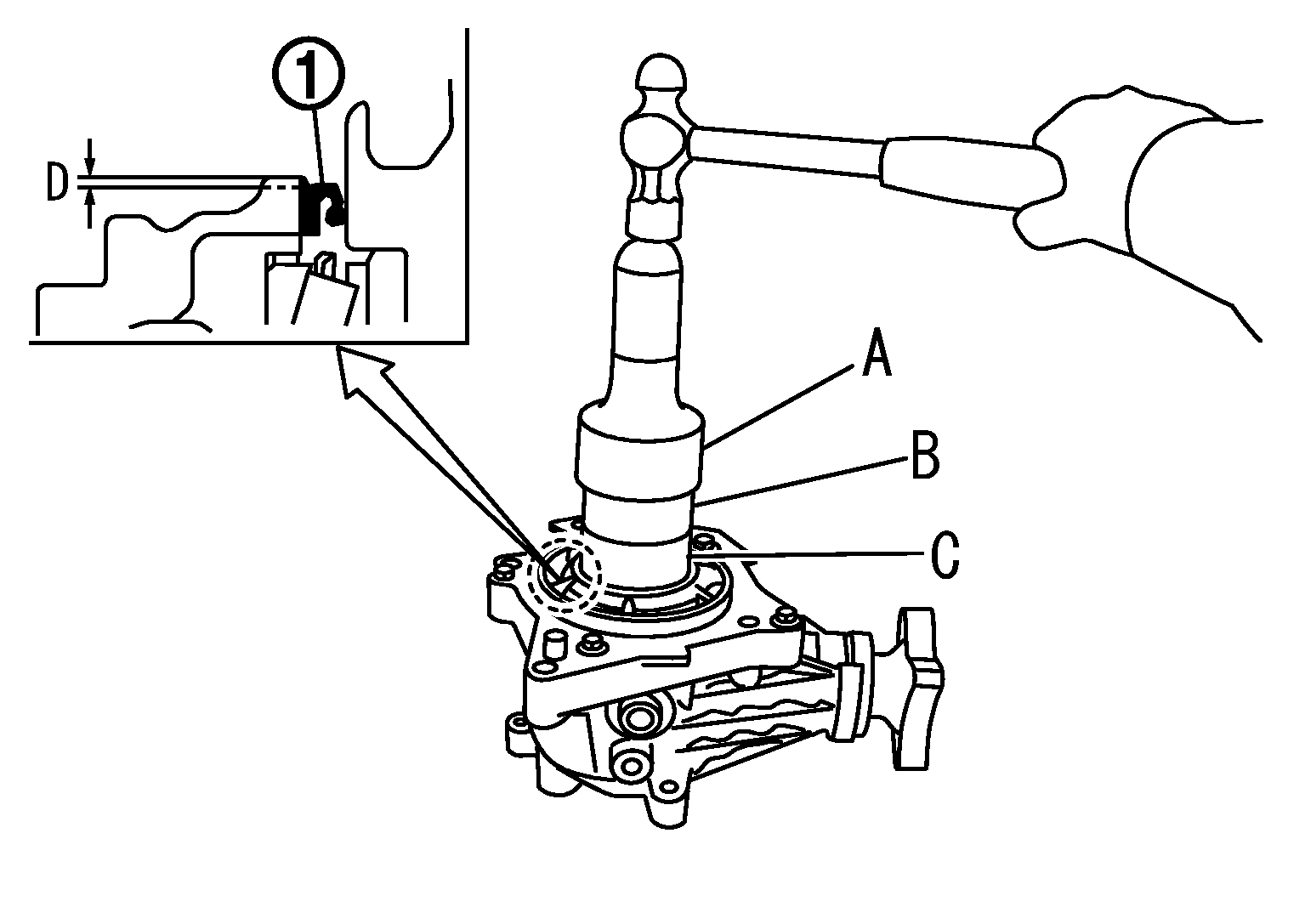
  5. Install adapter case oil seal (1) to the adapter case with drifts.
    Fig 2: Tapping Adapter Case Oil Seal To Adapter Case With Drifts
    G05370172Courtesy of NISSAN NORTH AMERICA, INC.
    A : Drift [SST: ST30720000 (J - 25405)]
    B : Drift [SST: ST27861000 (-)]
    C : Drift [SST: KV40104830 (-)]
    Dimension "D" : 0.5 - 1.5 mm (0.020 - 0.059 in)
    CAUTION:
    • Never reuse adapter case oil seal.
    • Apply multi-purpose grease onto oil seal lips, and gear oil onto the circumference.