LEMON Manuals: Even more car manuals for everyone: 1960-2025
Home >> Nissan-Datsun >> 2015 >> Versa Note S Plus >> Repair and Diagnosis (Single Page) >> Body & Frame >> Windows >> Power Window Control System >> System Description >> System >> System Description >> System Diagram
April 5, 2026: LEMON Manuals is launched! Read the announcement.

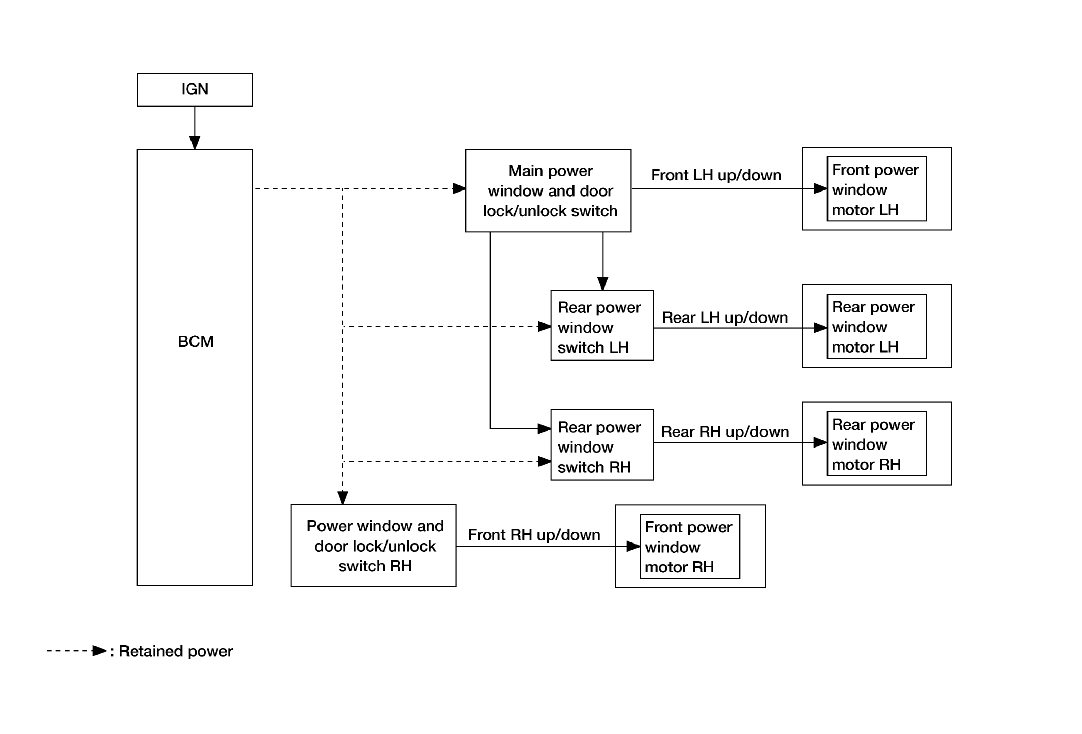
System Diagram

Fig 1: Power Window Control System Diagram
GNSAWKIA3165GB-165Courtesy of NISSAN NORTH AMERICA, INC.