LEMON Manuals: Even more car manuals for everyone: 1960-2025
Home >> Nissan-Datsun >> 2016 >> Altima Base >> Repair and Diagnosis >> External Pages >> Different car >> Section 627 (Security Control System) >> System Description >> System >> Vehicle Security System >> System Diagram
April 5, 2026: LEMON Manuals is launched! Read the announcement.

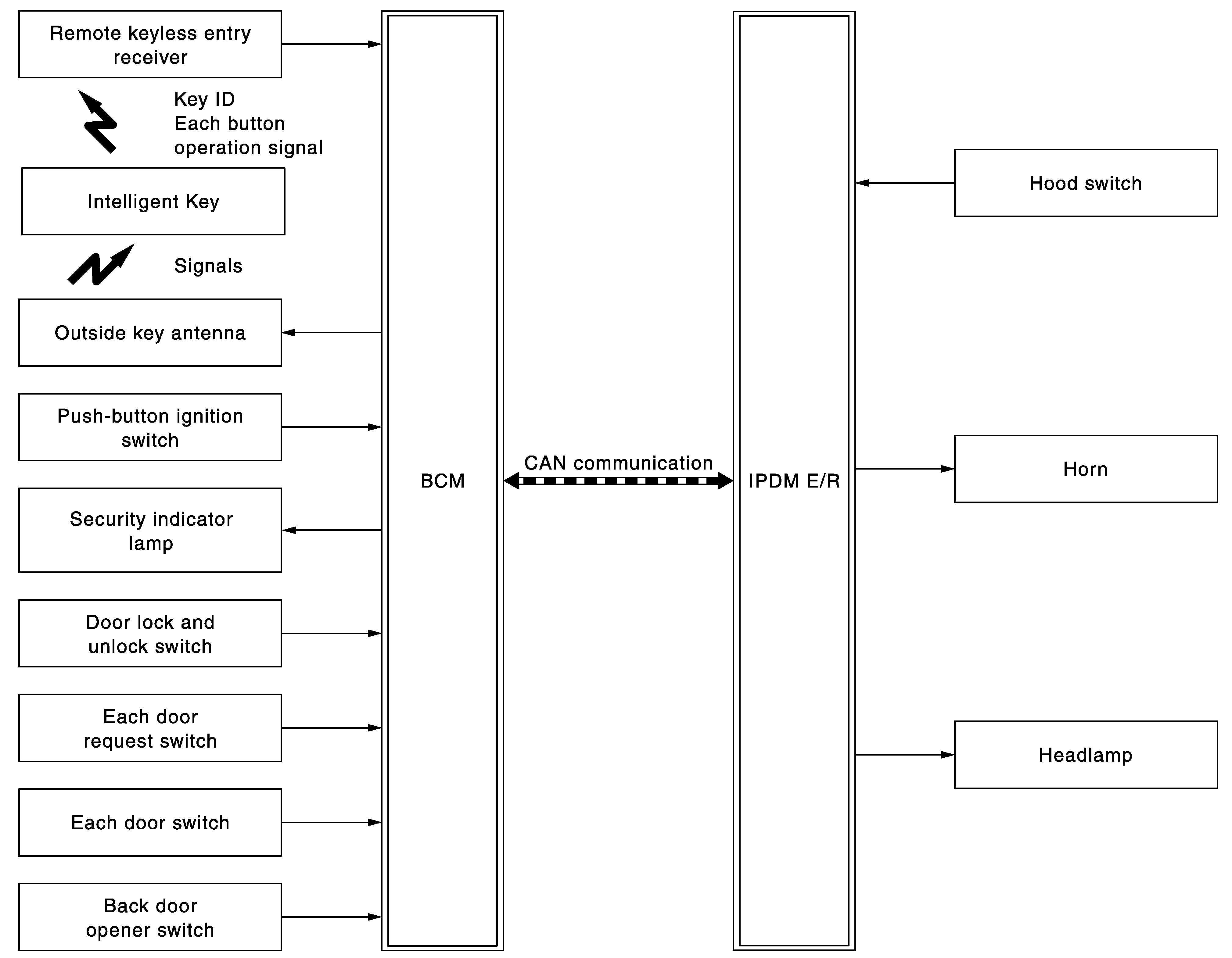
System Diagram

WARNING: This page is about a different car, the 2017 Nissan Pathfinder. However, it is still accessible from the selected car via links, so may be relevant.
G07022310Courtesy of NISSAN NORTH AMERICA, INC.