LEMON Manuals: Even more car manuals for everyone: 1960-2025
Home >> Nissan-Datsun >> 2016 >> Maxima S >> Repair and Diagnosis >> External Pages >> Different car >> Section 16 (Driver Assistance System (ADAS Control Unit)) >> ADAS Control Unit >> DTC/Circuit Diagnosis >> DTC C1A13: Stop Lamp Relay >> Component Inspection
April 5, 2026: LEMON Manuals is launched! Read the announcement.

Component Inspection

WARNING: This page is about a different car, the 2015 Nissan Murano. However, it is still accessible from the selected car via links, so may be relevant.

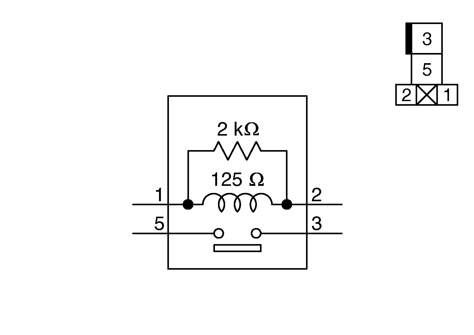
  1. CHECK ICC BRAKE HOLD RELAY

    Apply battery voltage to ICC brake hold relay terminals 1 and 2, and then check for continuity under the following conditions.

    Fig 1: Checking ICC Brake Hold Relay
    G05223983Courtesy of NISSAN NORTH AMERICA, INC.
    Terminal Condition Continuity
    3 5 When the battery voltage is applied Yes
    When the battery voltage is not applied No

    Is the inspection result normal?

    YES 

    Inspection End.

    NO 

    Replace ICC brake hold relay.