LEMON Manuals: Even more car manuals for everyone: 1960-2025
Home >> Nissan-Datsun >> 2016 >> Maxima SR >> Repair and Diagnosis (Single Page) >> Accessories & Equipment >> Entertainment Systems >> Audio, Visual & Navigation System (Multi Av System) (Introduction, Wiring Diagrams And Basic Inspection) >> System Description >> Audio System >> Without BOSE System >> System Description >> System Diagram
April 5, 2026: LEMON Manuals is launched! Read the announcement.

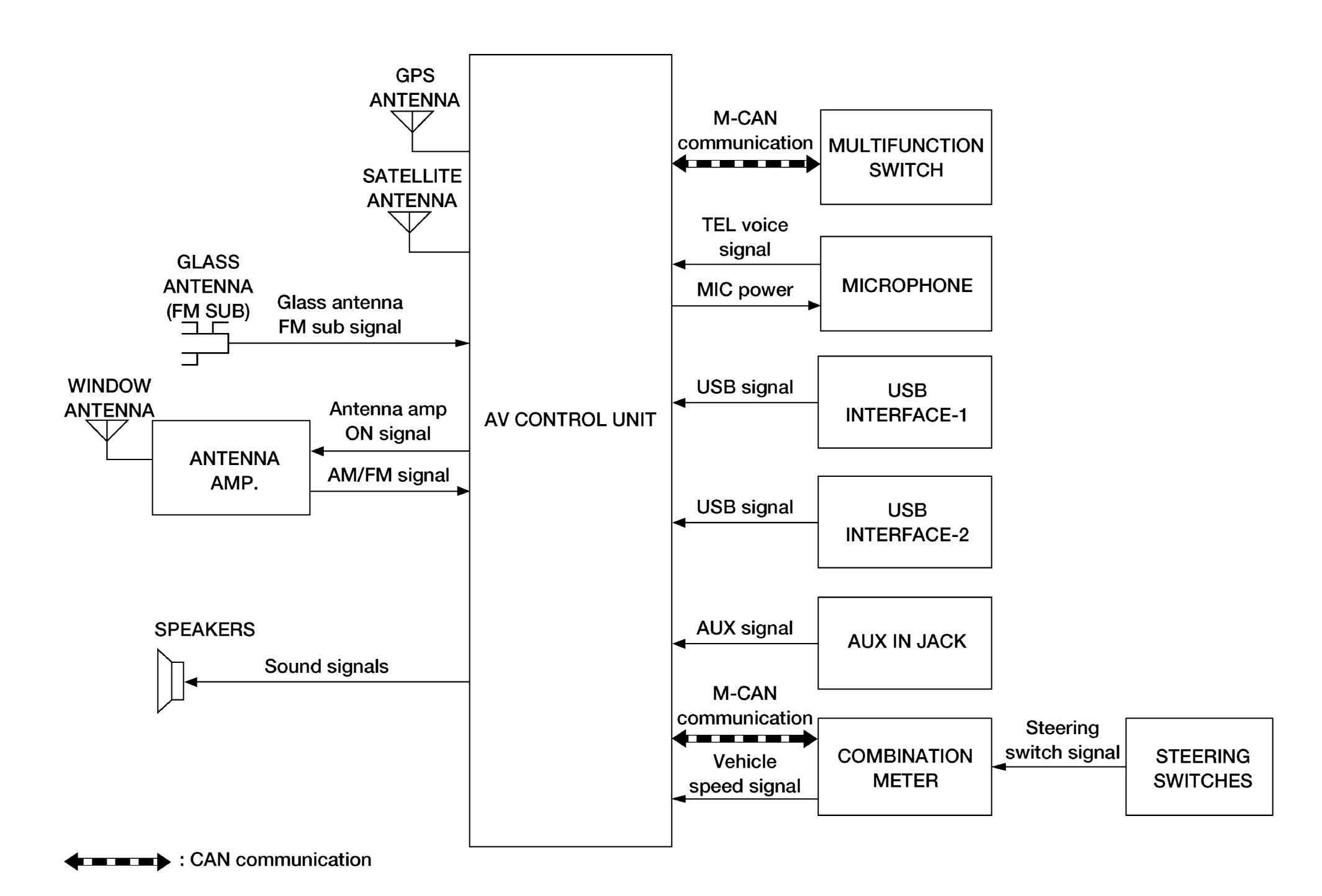
System Diagram

Fig 1: Audio System Diagram (Without Bose)
GNSAWNIA4102GB-102Courtesy of NISSAN NORTH AMERICA, INC.